授权公布号:CN217657418U
一种高效的蛹虫草培养盒压盖机
有效
申请
2022-06-09
申请公布
1970-01-01
授权
2022-10-28
预估到期
2032-06-09
| 申请号 | CN202221438894.9 |
| 申请日 | 2022-06-09 |
| 授权公布号 | CN217657418U |
| 授权公告日 | 2022-10-28 |
| 分类号 | A01G18/22 |
| 分类 | 农业;林业;畜牧业;狩猎;诱捕;捕鱼; |
| 申请人名称 | 湖北仁仁生物科技有限公司 |
| 申请人地址 | 湖北省宜昌市长阳土家族自治县创新产业园 |
专利法律状态
2022-10-28
授权
状态信息
授权
摘要
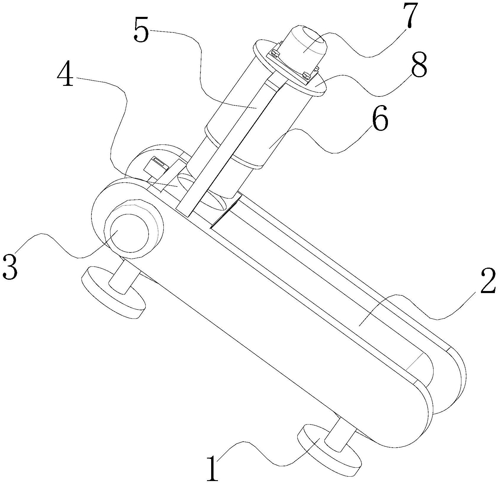
本实用新型公开了一种高效的蛹虫草培养盒压盖机,涉及机械设备技术领域,包括底座,底座的上表面固定连接有传送带,传送带的外表面安装有电机一,传送带的上表面设有放置板,传送带的上表面固定连接有两个固定架,两个固定架相互靠近的一端固定连接有固定盘,固定盘的上表面安装有电机二,固定盘的下方设有压盖机构,放置板包括移动板,移动板的外表面设有回弹机构。它能够通过设置压盖机构,能够对蛹虫草培养盒进行压盖密封,从而达到了对蛹虫草培养盒快速密封的目的,通过设置放置板,能够对蛹虫草培养盒进行放置和卸下,通过压盖机构和放置板之间的配合,达到了无需纯人工对培养盒进行压盖密封,效率较快,省时省力的目的。


