授权公布号:CN218736341U
一种药用菌栽培筐
有效
申请
2022-11-26
申请公布
1970-01-01
授权
2023-03-28
预估到期
2032-11-26
| 申请号 | CN202223146564.5 |
| 申请日 | 2022-11-26 |
| 授权公布号 | CN218736341U |
| 授权公告日 | 2023-03-28 |
| 分类号 | A01G18/64;A01G18/69;A01G18/60 |
| 分类 | 农业;林业;畜牧业;狩猎;诱捕;捕鱼; |
| 申请人名称 | 江苏安惠生物科技有限公司 |
| 申请人地址 | 江苏省南通市经济技术开发区中央路68-A号 |
专利法律状态
2023-03-28
授权
状态信息
授权
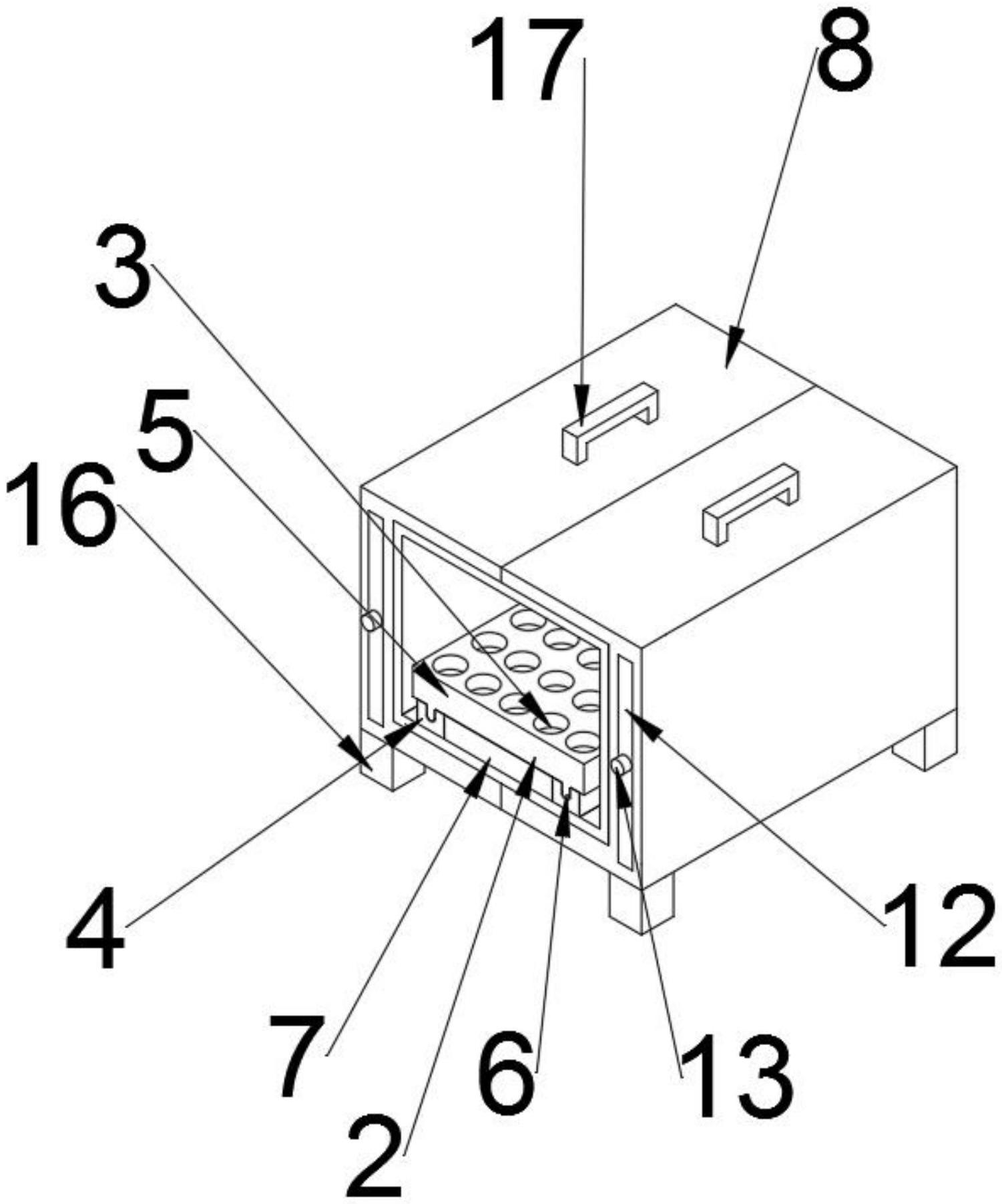
摘要
本实用新型公开了一种药用菌栽培筐,包括保护箱,保护箱的内部固定连接有栽培筐,栽培筐的顶部开设有多个栽培皿,保护箱的外侧设有扩展机构,扩展机构包括活动连接于保护箱两侧的封闭框,两个封闭框一端的滑块,且滑块位于封闭框的两个边侧,每两个相对滑块均通过滑槽滑动连接,两个封闭框的一侧均开设有条形槽,本实用新型,通过设置于保护箱两侧的封闭框、滑块、滑槽,通过滑块和滑槽的配合,可以将内部栽培皿内部的药用菌进行透气或者封闭养殖,同时对于不同环境下培育的药用菌可以提供不同的养殖培育空间,一侧设置的隔板可以对养育空间进行遮光,从而使装置可以培育需要阴暗环境下生长的菌类。


