授权公布号:CN211064959U
一种自动擦胶机
有效
申请
2019-09-17
申请公布
1970-01-01
授权
2020-07-24
预估到期
2029-09-17
| 申请号 | CN201921540887.8 |
| 申请日 | 2019-09-17 |
| 授权公布号 | CN211064959U |
| 授权公告日 | 2020-07-24 |
| 分类号 | A23L33/00;A23L5/10 |
| 分类 | 其他类不包含的食品或食料;及其处理; |
| 申请人名称 | 山东华信制药集团股份有限公司 |
| 申请人地址 | 山东省菏泽市中华西路48号 |
专利法律状态
2020-07-24
授权
状态信息
授权
摘要
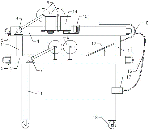
本实用新型具体涉及一种自动擦胶机,包括支架,设在支架上的第一传输机架和通过支撑杆设在第一传输机架上的第二传输机架,第一传输机架内设有第一传输机构,第一传输机构的上方设有至少一个的底面擦胶辊,相邻底面擦胶辊之间通过传动组件传动连接;第二传输机架内设有第二传输机构,第二传输机构的上方设有至少一个的顶面擦胶辊,相邻顶面擦胶辊之间通过传动组件传动连接;擦胶机还包括V型导板,V形导板的一端通过连接杆安装在第一传输支架上,另一端通过连接杆安装在第二传输支架上。该擦胶机占地空间小,操作简单,能自动对阿胶的上下左右四面进行擦拭,有效提高了擦胶的劳动效率。


