授权公布号:CN218132250U
一种易于清理的滚揉机
有效
申请
2022-10-09
申请公布
1970-01-01
授权
2022-12-27
预估到期
2032-10-09
| 申请号 | CN202222644280.2 |
| 申请日 | 2022-10-09 |
| 授权公布号 | CN218132250U |
| 授权公告日 | 2022-12-27 |
| 分类号 | B02C13/06;B02C13/30;B02C13/26;B02C23/20;B08B9/093;B08B7/02 |
| 分类 | 破碎、磨粉或粉碎;谷物碾磨的预处理; |
| 申请人名称 | 东阿生力源阿胶股份有限公司 |
| 申请人地址 | 山东省聊城市东阿县大桥镇驻地 |
专利法律状态
2022-12-27
授权
状态信息
授权
摘要
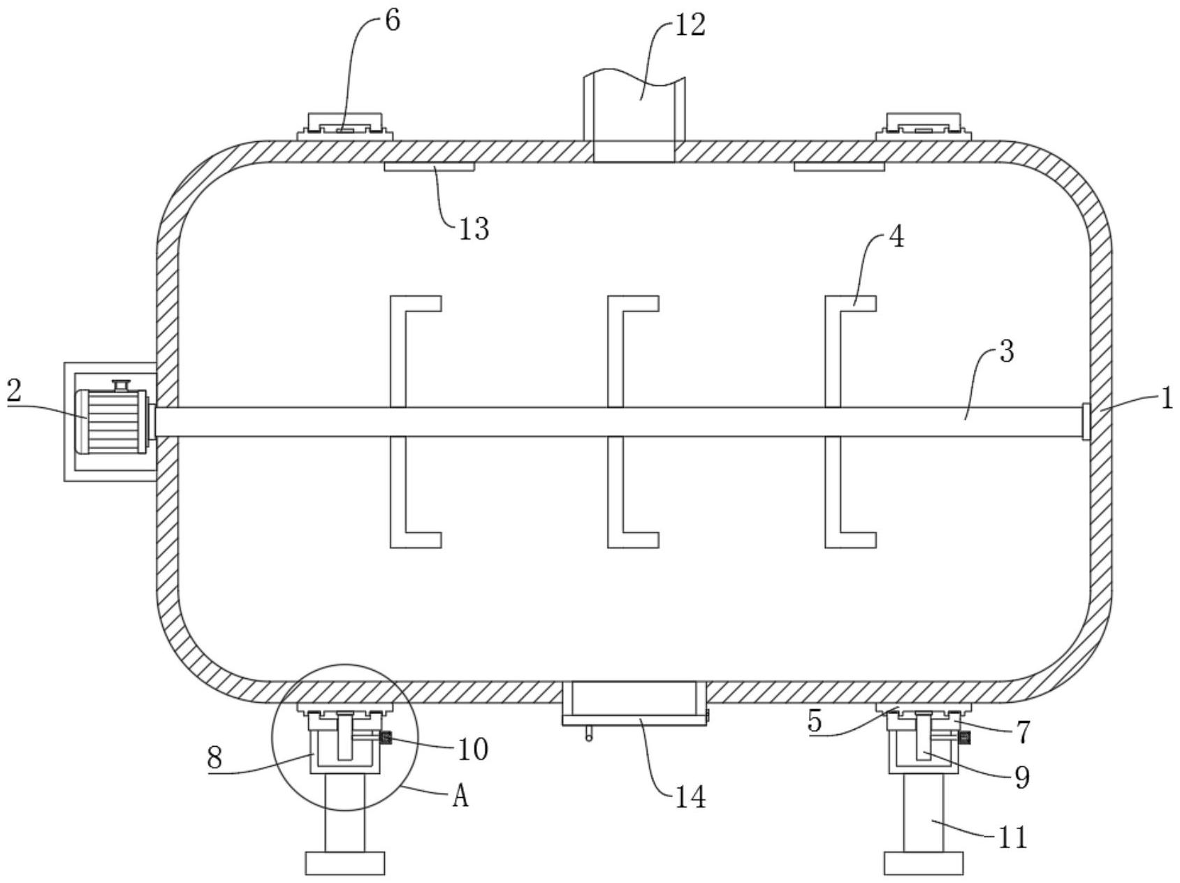
本实用新型涉及阿枣技术领域,尤其是一种易于清理的滚揉机,包括机壳,所述机壳一侧固定安装有第一电机,所述第一电机控制输出端固定安装有转动轴,所述转动轴端部贯穿延伸至所述机壳内部,所述转动轴外侧固定安装有混合杆,所述机壳上侧固定安装有进料管,所述机壳内侧顶部还固定安装有喷头,所述机壳下侧固定安装有出料管,该滚揉机便于对内部进行清理,值得推广。


