授权公布号:CN106264053B
一种苹果去核装置
有效
申请
2016-08-25
申请公布
2017-01-04
授权
2018-09-28
预估到期
2036-08-25
| 申请号 | CN201610727964.5 |
| 申请日 | 2016-08-25 |
| 申请公布号 | CN106264053A |
| 申请公布日 | 2017-01-04 |
| 授权公布号 | CN106264053B |
| 授权公告日 | 2018-09-28 |
| 分类号 | A47J23/00 |
| 分类 | 家具;家庭用的物品或设备;咖啡磨;香料磨;一般吸尘器; |
| 申请人名称 | 山东东阿东方阿胶股份有限公司 |
| 申请人地址 | 山东省东阿县阿胶街020号 |
专利法律状态
2023-10-20
专利权质押合同登记的生效、变更及注销
状态信息
专利权质押合同登记的生效;IPC(主分类):A47J 23/00;专利号:ZL2016107279645;登记号:Y2023980059626;登记生效日:20230927;出质人:山东东阿东方阿胶股份有限公司;质权人:山东东阿农村商业银行股份有限公司;发明名称:一种苹果去核装置;申请日:20160825;授权公告日:20180928
2019-12-10
专利申请权、专利权的转移
状态信息
专利权的转移;IPC(主分类):A47J23/00;登记生效日:20191121;变更事项:专利权人;变更前:合肥龙图腾信息技术有限公司;变更后:山东东阿东方阿胶股份有限公司;变更事项:地址;变更前:230000 安徽省合肥市高新区创新产业园二期J2区C座18楼;变更后:252200 山东省东阿县阿胶街020号
2018-09-28
授权
状态信息
授权
2018-07-17
专利申请权、专利权的转移
状态信息
专利申请权的转移;IPC(主分类):A47J23/00;登记生效日:20180627;变更事项:申请人;变更前:周瑛;变更后:合肥龙图腾信息技术有限公司;变更事项:地址;变更前:541213 广西壮族自治区桂林市灵川县灵川大道57号;变更后:230000 安徽省合肥市高新区创新产业园二期J2区C座18楼
2017-02-01
实质审查的生效
状态信息
实质审查的生效;IPC(主分类):A47J23/00;申请日:20160825
2017-01-04
公布
状态信息
公布
摘要
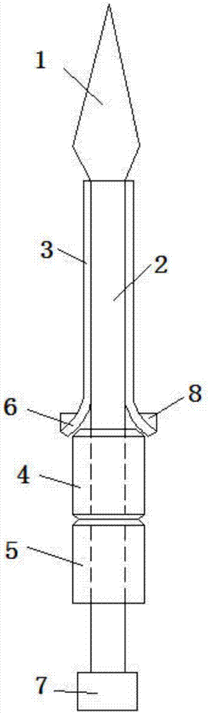
本发明涉及一种水果去核装置,具体是一种苹果去核装置,包括手柄和固定在所述手柄一端的刺头,在手柄上套有与所述手柄作螺纹配合的调节套筒,所述手柄上、所述调节套筒与所述刺头之间的套有顶套,所述顶套与所述手柄作滑动配合,在所述顶套与所述刺头之间设有至少一片弹性金属片,所述弹性金属片的一端与所述手柄靠近所述刺头的一端固定连接,另一端向外弯曲成弯曲部,所述弯曲部的边缘开设有刀刃,所述顶套可沿所述手柄向所述刺头滑动,进而撑开所述弹性金属片。有益效果是结构简单,操作方便,能够快捷去除苹果核。


