授权公布号:CN213536394U
一种不合格瓶盖的回收装置
有效
申请
2020-09-22
申请公布
1970-01-01
授权
2021-06-25
预估到期
2030-09-22
| 申请号 | CN202022095900.2 |
| 申请日 | 2020-09-22 |
| 授权公布号 | CN213536394U |
| 授权公告日 | 2021-06-25 |
| 分类号 | B65G47/28 |
| 分类 | 输送;包装;贮存;搬运薄的或细丝状材料; |
| 申请人名称 | 吉林省华侨药业集团有限公司 |
| 申请人地址 | 吉林省松原市青年大街2499号 |
专利法律状态
2021-06-25
授权
状态信息
授权
摘要
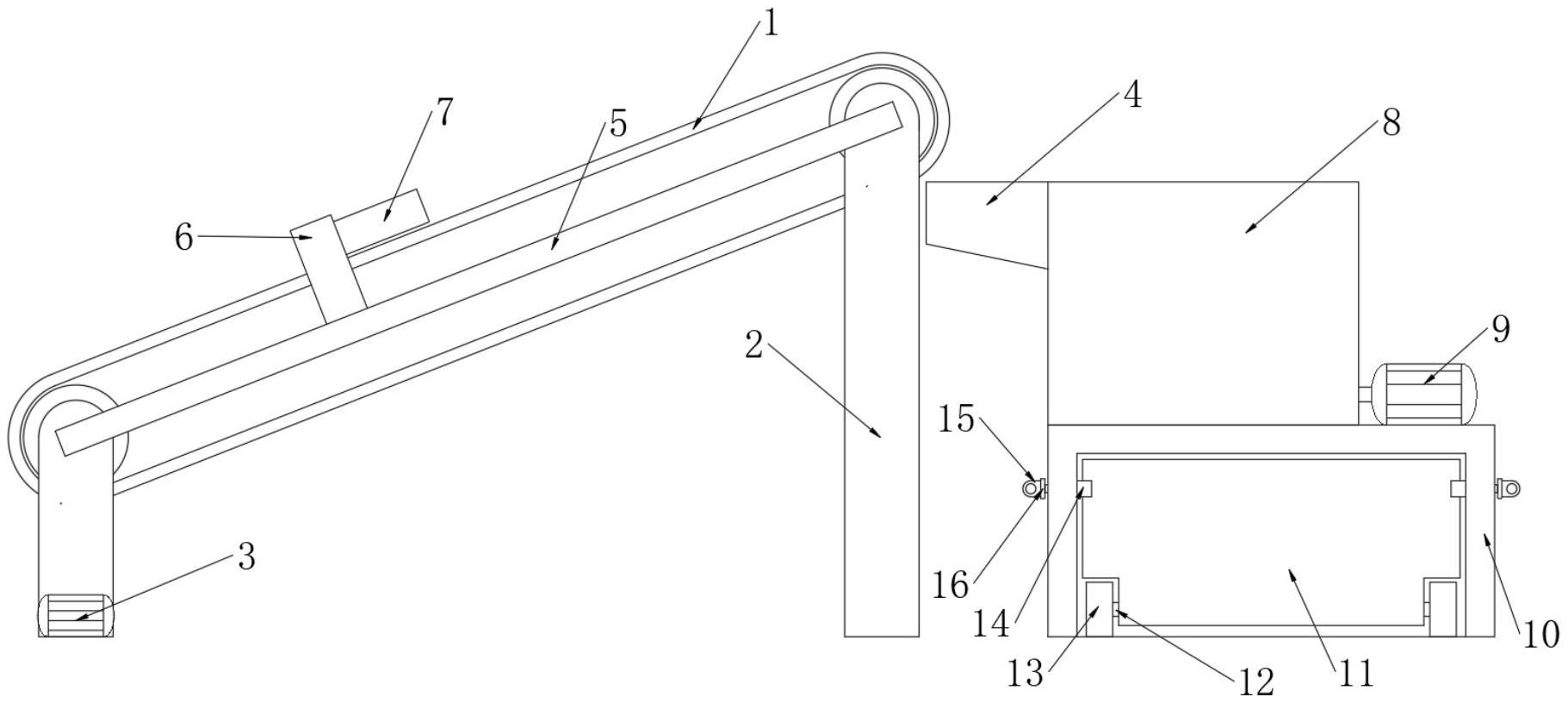
本实用新型涉及回收装置技术领域,且公开了一种不合格瓶盖的回收装置,解决了目前市场上的瓶盖回收装置不方便把不合格的瓶盖放进进料口,并且不能对收集箱进行位置限制的问题,其包括传送带,传送带的两端均设有转轴,转轴的侧面均固定安装有支撑板,传送带为倾斜设置的,支撑板较低的一端侧面设有第一电机,支撑板的侧面均固定安装有连接板两个连接板的顶部开设有滑槽,两个滑槽的内部均滑动安装有滑杆,两个滑杆的顶部均固定安装有移动板,两个移动板的侧面均固定安装有斜板,本实用新型,具有方便把不合格的瓶盖放进粉碎装置的进料口,并且能对收集箱进行位置限制,避免了因收集箱的移动使粉碎后的瓶盖掉落在地面上。


