授权公布号:CN213529563U
一种制药用原料粉筛装置
有效
申请
2020-09-28
申请公布
1970-01-01
授权
2021-06-25
预估到期
2030-09-28
| 申请号 | CN202022180388.1 |
| 申请日 | 2020-09-28 |
| 授权公布号 | CN213529563U |
| 授权公告日 | 2021-06-25 |
| 分类号 | B07B1/28;B07B1/42;B07B1/46 |
| 分类 | 将固体从固体中分离;分选; |
| 申请人名称 | 吉林省华侨药业集团有限公司 |
| 申请人地址 | 吉林省松原市青年大街2499号 |
专利法律状态
2021-06-25
授权
状态信息
授权
摘要
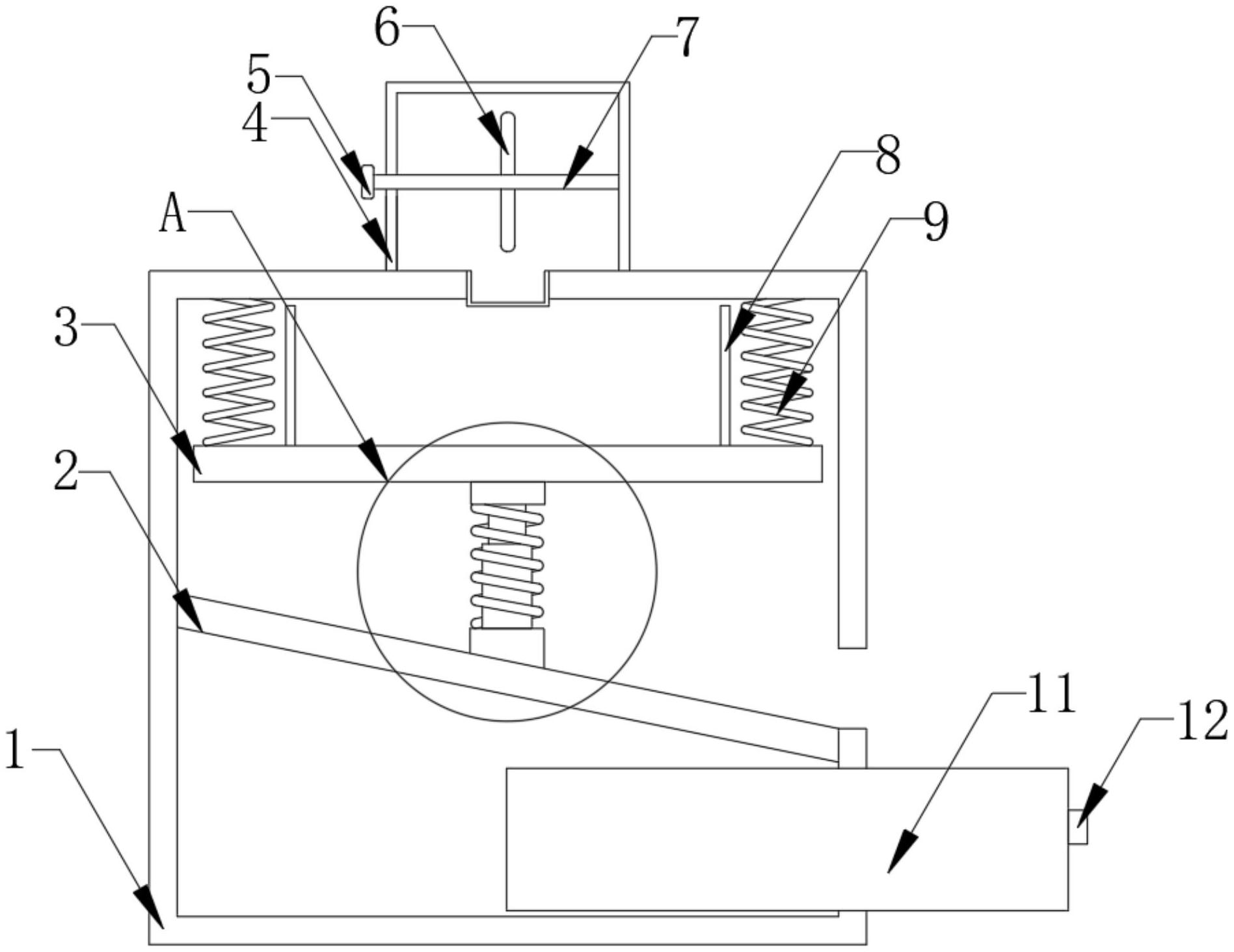
本实用新型涉及制药辅助技术领域,且公开了一种制药用原料粉筛装置,解决了目前市场上的药用原料粉筛机在使用时震动效果不佳,导致粉状原料无法充分进行筛选,从而使筛选效率低和筛选过后的原料不方便收集,从而导致筛选过后的细料无法及时收集,使得造成一定的浪费的问题,其包括筛选机箱,筛选机箱,筛选机箱的内部固定安装有出料板,出料板的顶部固定安装有支撑套筒,支撑套筒的内部活动插接有缓冲杆,缓冲杆的底部设有冲力弹簧,冲力弹簧的底部与支撑套筒的内壁固定连接,本实用新型,具有在进行筛选工作时,震动效果更佳,从而使筛选效率大大提升和方便的对筛选过后的细料进行收集,以及方便对收集箱进行抽出更换。


