授权公布号:CN215341463U
一种多功能阅读点读笔
有效
申请
2021-06-24
申请公布
1970-01-01
授权
2021-12-28
预估到期
2031-06-24
| 申请号 | CN202121413133.3 |
| 申请日 | 2021-06-24 |
| 授权公布号 | CN215341463U |
| 授权公告日 | 2021-12-28 |
| 分类号 | G09B5/04;F21V33/00;F04D25/08;F04D25/16;F04D29/38;F04D29/02 |
| 分类 | 教育;密码术;显示;广告;印鉴; |
| 申请人名称 | 广州童年科技有限公司 |
| 申请人地址 | 广东省广州市荔湾区黄沙大道144号1901房(仅作写字楼功能用) |
专利法律状态
2021-12-28
授权
状态信息
授权
摘要
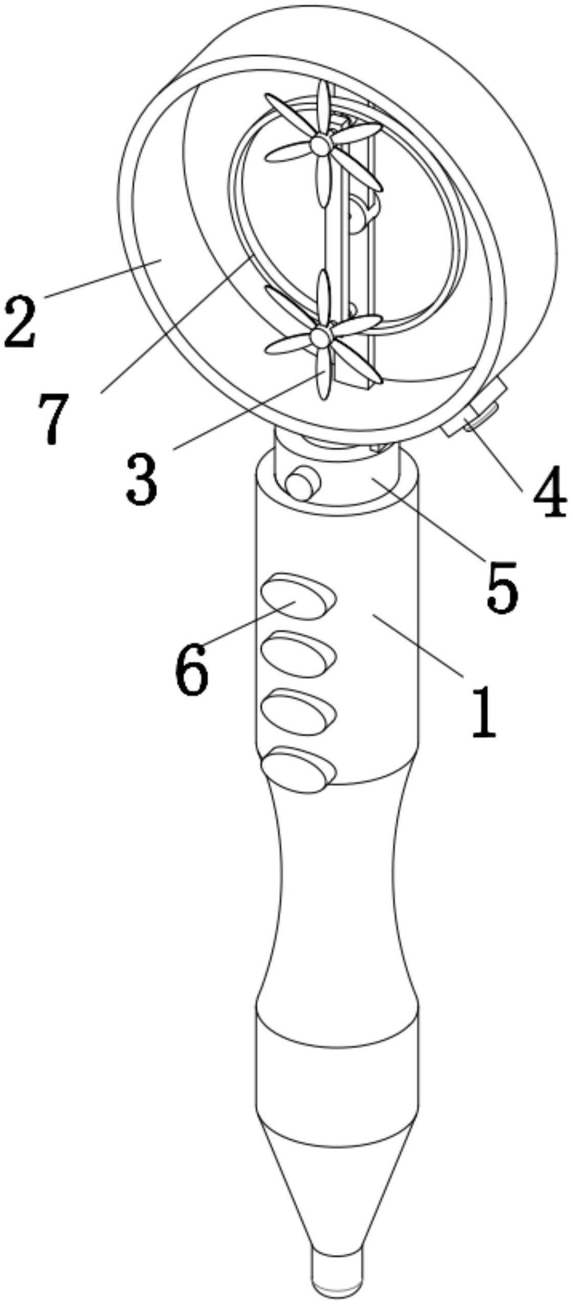
本实用新型公开了一种多功能阅读点读笔。本实用新型包括:点读笔本体,所述点读笔本体的顶端固定安装有固定轴,固定轴的外侧转动套接有套筒的顶部两侧均固定安装有支撑板,两个支撑板的顶部固定安装有同一个固定圈,固定圈的两侧均固定安装有照明灯,且固定圈的顶部内壁和底部内壁上均固定安装有竖板,两个竖板相互靠近的一侧固定安装有同一个电机,通过在点读笔上设置照明灯提高照明效果,并通过设置硅胶扇叶片并控制其高速自转的同时进行圆周运动,以产生风力对使用者进行散热,提升使用舒适性,解决了现有技术中的点读笔的本体结构大多较为单一,只能够作为发生板的配合部件进行操作,导致功能性较差的问题。


