授权公布号:CN207052113U
一种点读笔装置
有效
申请
2017-04-21
申请公布
1970-01-01
授权
2018-02-27
预估到期
2027-04-21
| 申请号 | CN201720430990.1 |
| 申请日 | 2017-04-21 |
| 授权公布号 | CN207052113U |
| 授权公告日 | 2018-02-27 |
| 分类号 | G09B5/06 |
| 分类 | 教育;密码术;显示;广告;印鉴; |
| 申请人名称 | 广州童年科技有限公司 |
| 申请人地址 | 广东省广州市荔湾区黄沙大道144号1901房 |
专利法律状态
2019-09-20
专利权人的姓名或者名称、地址的变更
状态信息
专利权人的姓名或者名称、地址的变更IPC(主分类):G09B 5/06变更前 专利权人:广州童年美术设计有限公司 地址:510000 广东省广州市荔湾区黄沙大道144号1901房变更后 专利权人:广州童年科技有限公司 地址:510000 广东省广州市荔湾区黄沙大道144号1901房
2018-02-27
授权
状态信息
授权
摘要
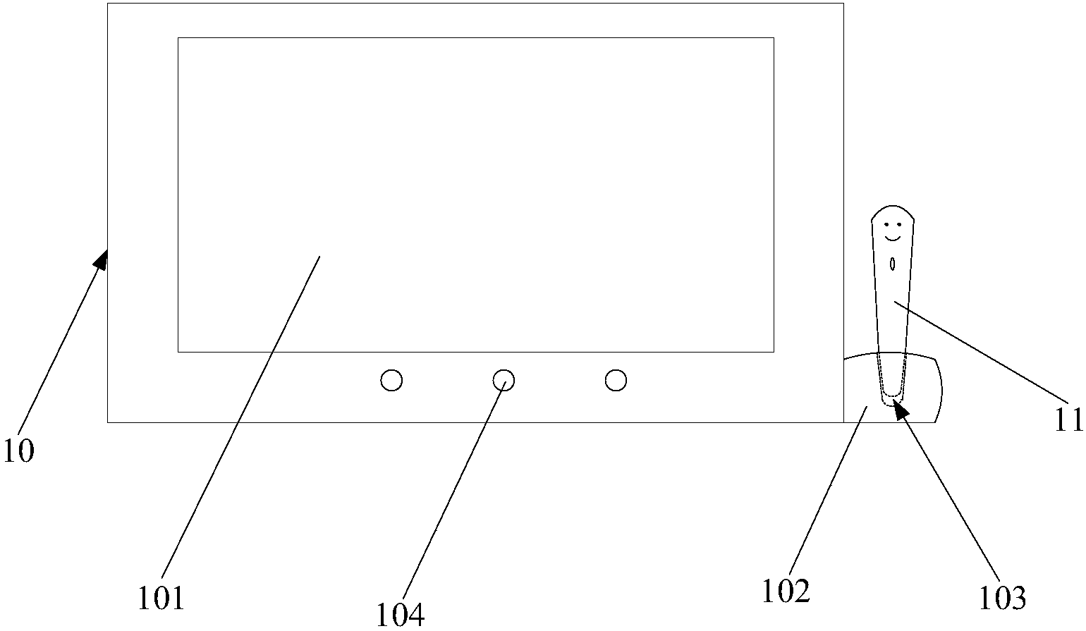
本实用新型公开了一种点读笔装置,包括:显示器;点读笔,可插拔设置在显示器中;其中,显示器包括支撑板和设置在支撑板上的显示屏,其中支撑板上设有收容机构,点读笔可插拔设置在收容机构中。通过上述方式,本实用新型所公开的点读笔装置本身配置显示屏,可通过该显示屏与点读笔连接,从而可以通过显示屏显示点读笔的操作。


