授权公布号:CN216698170U
一种电子产品的鼓点按键结构
有效
申请
2022-01-10
申请公布
1970-01-01
授权
2022-06-07
预估到期
2032-01-10
| 申请号 | CN202220051928.2 |
| 申请日 | 2022-01-10 |
| 授权公布号 | CN216698170U |
| 授权公告日 | 2022-06-07 |
| 分类号 | H01H13/14 |
| 分类 | 基本电气元件; |
| 申请人名称 | 深圳市火火兔智慧科技有限公司 |
| 申请人地址 | 广东省深圳市南山区西丽街道西丽社区打石一路深圳国际创新谷(万科云城一期七栋)1栋B座2103研发用房 |
专利法律状态
2022-06-07
授权
状态信息
授权
摘要
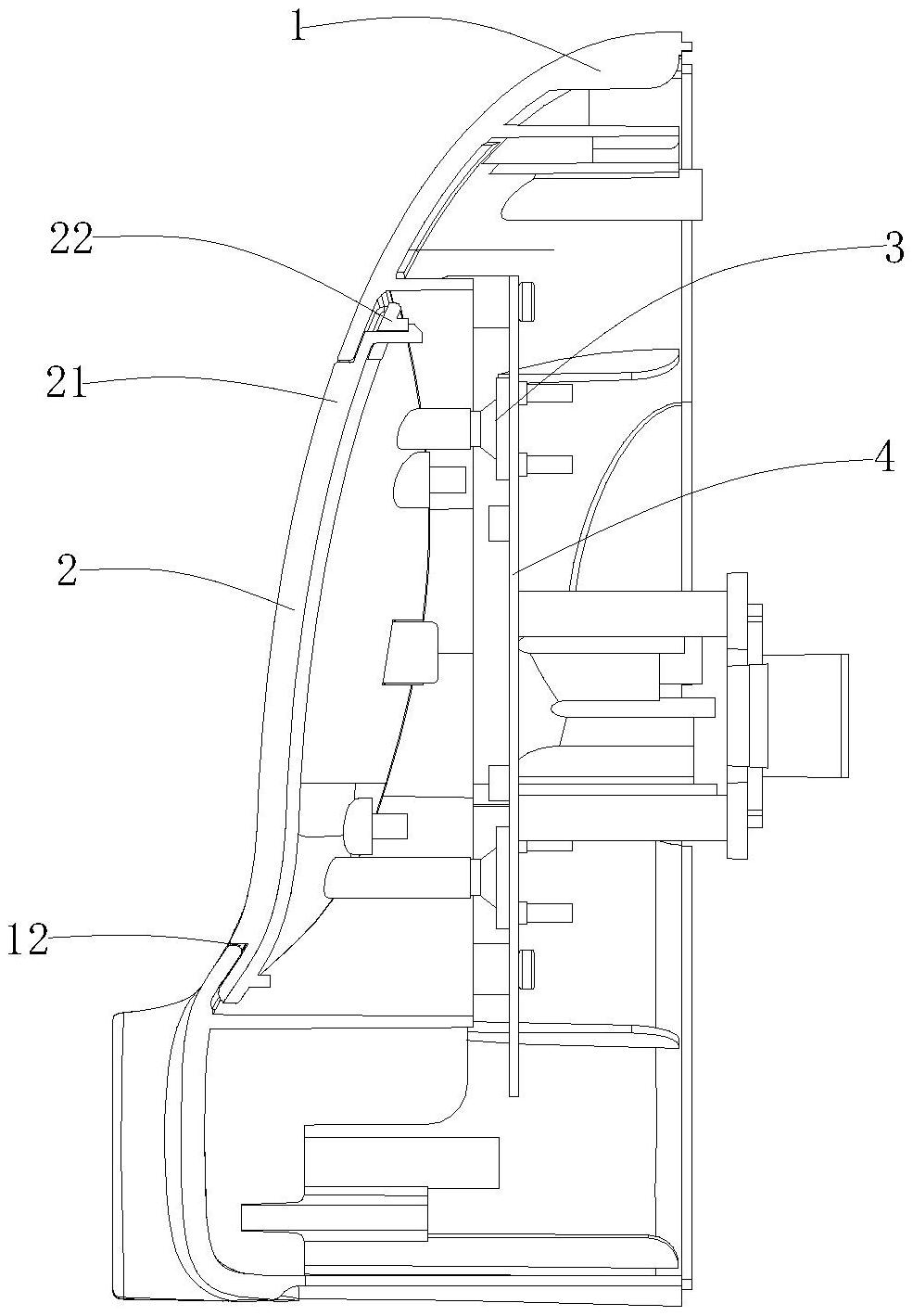
本实用新型公开了一种电子产品的鼓点按键结构,涉及技术领域电子产品,包括具有容置腔的前壳空心主体;还包括从内向外依次设置在容置腔内的鼓点按键、复位件和控制板;所述控制板与前壳主体相连接,所述复位件连接于所述鼓点按键和所述控制板之间,所述前壳空心主体具有按压鼓点按键的按压部;所述鼓点按键包括可拆装连接在一起的按键镜片和按键衬件。本实用新型避免了对类似键盘的按键敲击声响感到不适,同时兼顾了喜欢类似键盘的按键敲击声响的消费者,使该电子产品受众更广泛,适应性更强,按键镜片在保证与前壳空心主体连接后的整体性的情况下,按键衬件保证按键镜片的稳定性,使该前壳空心主体组装后美观且可靠性强。


