授权公布号:CN216802109U
一种通用型翻版制笔装置
有效
申请
2021-12-27
申请公布
1970-01-01
授权
2022-06-24
预估到期
2031-12-27
| 申请号 | CN202123318945.2 |
| 申请日 | 2021-12-27 |
| 授权公布号 | CN216802109U |
| 授权公告日 | 2022-06-24 |
| 分类号 | B23K26/362;B23K26/08;B23K26/70;B23K26/16 |
| 分类 | 机床;不包含在其他类目中的金属加工; |
| 申请人名称 | 真彩文具股份有限公司 |
| 申请人地址 | 江苏省苏州市昆山市千灯镇炎武北路889号 |
专利法律状态
2022-06-24
授权
状态信息
授权
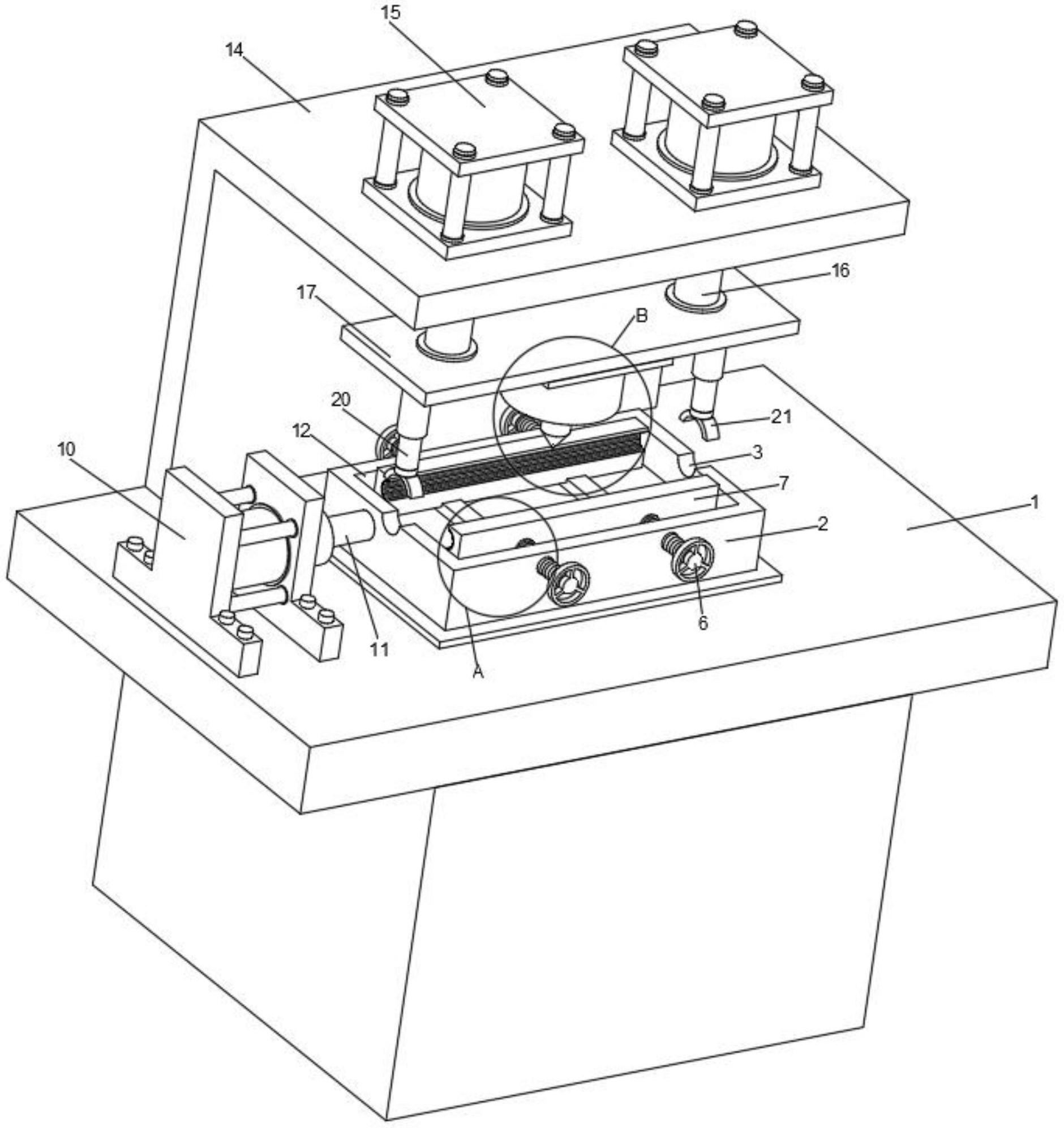
摘要
本实用新型公开了制笔装置领域的一种通用型翻版制笔装置,包括加工台,加工台上端设置有模具,模具左右两端均设置有托槽,模具前后两端均设置有两个螺纹孔,每个螺纹孔内插接有螺杆,每个螺杆外端均设置有转盘,每个螺杆内端均设置有卡板,每个卡板内侧均设置有卡槽,通过托槽把笔杆放到模具上,手动转盘,通过螺杆的转动使卡板向模具内侧移动,通过卡板在导轨上滑动,可以提高卡板的稳定性,通过卡槽对笔杆进行夹持,避免笔杆在刻字过程中进行滚动,通过弹性卡齿可以避免卡槽对笔杆造成磨损,且进一步加固夹持的力度,提高了夹持的稳定性,启动第二气缸,使升降板联动伸缩柱向下移动,使弧形夹头对笔杆两端进行夹持,进一步加固夹持的稳定性。


