授权公布号:CN111229540B
一种油漆沾头铅笔干燥设备
有效
申请
2020-03-20
申请公布
2020-06-05
授权
2021-04-20
预估到期
2040-03-20
| 申请号 | CN202010202077.2 |
| 申请日 | 2020-03-20 |
| 申请公布号 | CN111229540A |
| 申请公布日 | 2020-06-05 |
| 授权公布号 | CN111229540B |
| 授权公告日 | 2021-04-20 |
| 分类号 | B05D3/04;B05C9/14;B05C13/02;B05C3/10 |
| 分类 | 一般喷射或雾化;对表面涂覆液体或其他流体的一般方法〔2〕; |
| 申请人名称 | 安硕文教用品(上海)股份有限公司 |
| 申请人地址 | 上海市青浦区香花桥街道学子南路111号 |
专利法律状态
2021-04-20
授权
状态信息
授权
2020-06-30
实质审查的生效
状态信息
实质审查的生效
2020-06-05
公布
状态信息
公布
摘要
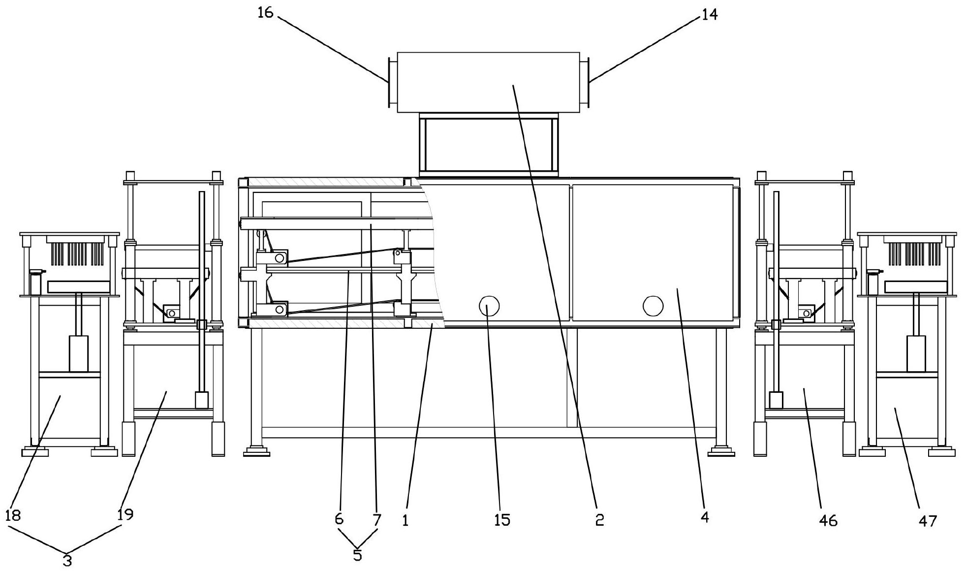
本发明实施例公开了一种油漆沾头铅笔干燥设备。本发明的油漆沾头铅笔干燥设备,包括:多层输送式烘道、加热除湿装置和送料装置;多层输送式烘道包括:外壳和多层输送线;多层输送线包括:第一层输送线、第二层输送线、驱动机构;第一层输送线和第二层输送线分别包括:多个输送带组;各输送带组包括:第一条输送带和第二条输送带,第一条输送带和第二条输送带用于输送插笔盘;加热除湿装置设置在外壳上方,加热除湿装置用于对外壳内的油漆沾头铅笔烘干。本发明的油漆沾头铅笔干燥设备由加热除湿装置对沾头铅笔进行烘干,不需要人工搬运铅笔盘,且可对多组输送带上的沾头铅笔同时烘干,沾地小,节约空间,效率高。


