授权公布号:CN212595037U
一种禽流感疫苗生产用双级中空纤维装置疫苗浓缩设备
有效
申请
2020-04-17
申请公布
1970-01-01
授权
2021-02-26
预估到期
2030-04-17
| 申请号 | CN202020576813.6 |
| 申请日 | 2020-04-17 |
| 授权公布号 | CN212595037U |
| 授权公告日 | 2021-02-26 |
| 分类号 | B01D65/04;B01D61/00 |
| 分类 | 一般的物理或化学的方法或装置; |
| 申请人名称 | 广东永顺生物制药股份有限公司 |
| 申请人地址 | 广东省广州市黄埔区田园西路35号广东永顺生物制药股份有限公司 |
专利法律状态
2021-02-26
授权
状态信息
授权
摘要
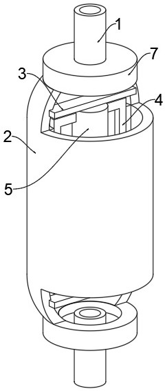
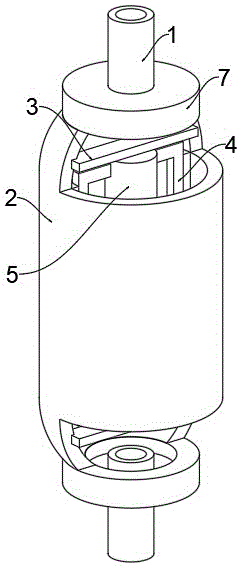
本实用新型公开了一种禽流感疫苗生产用双级中空纤维装置疫苗浓缩设备,包括装置外壳体,所述装置外壳体的上下端均安装有密封盖顶,所述密封盖顶的中间设置有连接管道,所述装置外壳体的内部均匀安装有两个支撑横梁,两个所述支撑横梁的中间安装有中心立柱,所述中心立柱的外侧安装有旋转立柱,所述旋转立柱的外侧均匀安装有两个U形固定杆,所述U形固定杆的外侧安装有清洁刮板,所述旋转立柱两端均安装有密封盖板,所述中心立柱与旋转立柱的中间设置有电机安装板。本实用新型通过安装有旋转立柱、清洁刮板和电机可以对浓缩后的设备内部进行清洁,保证下次浓缩时不会因为上次的浓缩残留导致疫苗污染,可以保证产品质量,结构简单、操作方便。


