授权公布号:CN212730436U
一种禽流感疫苗生产用疫苗抗原灭活装置
有效
申请
2020-04-17
申请公布
1970-01-01
授权
2021-03-19
预估到期
2030-04-17
| 申请号 | CN202020577870.6 |
| 申请日 | 2020-04-17 |
| 授权公布号 | CN212730436U |
| 授权公告日 | 2021-03-19 |
| 分类号 | A61L2/04;A61L2/26 |
| 分类 | 医学或兽医学;卫生学; |
| 申请人名称 | 广东永顺生物制药股份有限公司 |
| 申请人地址 | 广东省广州市黄埔区田园西路35号广东永顺生物制药股份有限公司 |
专利法律状态
2021-03-19
授权
状态信息
授权
摘要
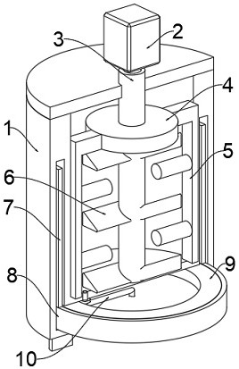
本实用新型公开了一种禽流感疫苗生产用疫苗抗原灭活装置,包括装置主壳体,所述装置主壳体的上方安装有搅拌电机,所述搅拌电机的前端安装有搅拌主轴,所述搅拌主轴的外表面均匀安装有若干个主搅拌桨,所述主搅拌桨的上方安装有转动盘,所述转动盘的两侧均安装有次级搅拌杆,所述转动盘的内部安装有反向齿轮环,所述反向齿轮环的中间安装有动力齿轮,所述动力齿轮与反向齿轮环的中间安装有传动齿轮,所述装置主壳体的内部安装有固定底盘,所述固定底盘的外侧安装有旋转底盘。本实用新型通过安装有恒温加热板、旋转底盘和蓄电电池可以使得疫苗在加工的过程中受热均匀,确保疫苗成品的品质,保证产品质量,结构简单,操作方便。


