授权公布号:CN212260153U
一种用于禽流感疫苗生产的轻便照蛋灯
有效
申请
2020-04-17
申请公布
1970-01-01
授权
2021-01-01
预估到期
2030-04-17
| 申请号 | CN202020577838.8 |
| 申请日 | 2020-04-17 |
| 授权公布号 | CN212260153U |
| 授权公告日 | 2021-01-01 |
| 分类号 | A01K43/00 |
| 分类 | 农业;林业;畜牧业;狩猎;诱捕;捕鱼; |
| 申请人名称 | 广东永顺生物制药股份有限公司 |
| 申请人地址 | 广东省广州市黄埔区田园西路35号广东永顺生物制药股份有限公司 |
专利法律状态
2021-01-01
授权
状态信息
授权
摘要
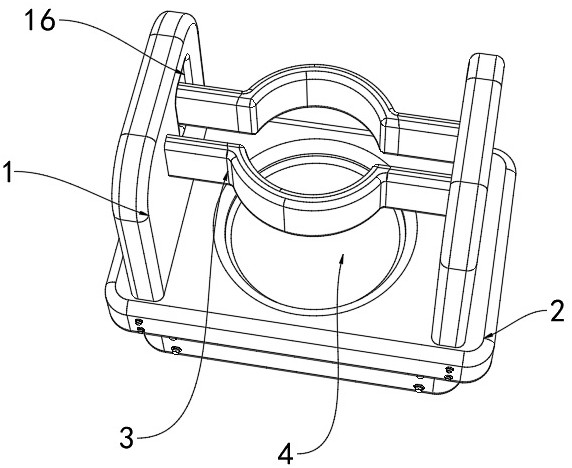
本实用新型公开了一种用于禽流感疫苗生产的轻便照蛋灯,包括底座,所述底座的上端面安装有照蛋灯,所述照蛋灯的两侧均安装有支撑板,两个所述支撑板的内侧安装有C型连接板,两个所述C型连接板的内侧安装有限位弹簧,所述支撑板的一侧设置有方形槽,所述支撑板的内侧设置有移动槽,所述移动槽的内侧安装有L型限位杆,所述L型限位杆的两侧均安装有条形限位杆,所述条形限位杆的上端面安装有定位件,所述定位件的一侧安装有缓冲弹簧,所述条形限位杆的一端安装有橡胶垫板,两个所述条形限位杆的外侧设置有条形卡槽。本实用新型结构简单,操作方便,便于使用,提高了该装置的安全性,且该装置便于拆卸,便于收纳。


