授权公布号:CN218543233U
水压机用注水阀
有效
申请
2022-11-10
申请公布
1970-01-01
授权
2023-02-28
预估到期
2032-11-10
| 申请号 | CN202223000480.0 |
| 申请日 | 2022-11-10 |
| 授权公布号 | CN218543233U |
| 授权公告日 | 2023-02-28 |
| 分类号 | F16K3/24;F16K3/30;F16K3/314 |
| 分类 | 工程元件或部件;为产生和保持机器或设备的有效运行的一般措施;一般绝热; |
| 申请人名称 | 江苏常宝钢管股份有限公司 |
| 申请人地址 | 江苏省常州市经开区延陵东路558号 |
专利法律状态
2023-02-28
授权
状态信息
授权
摘要
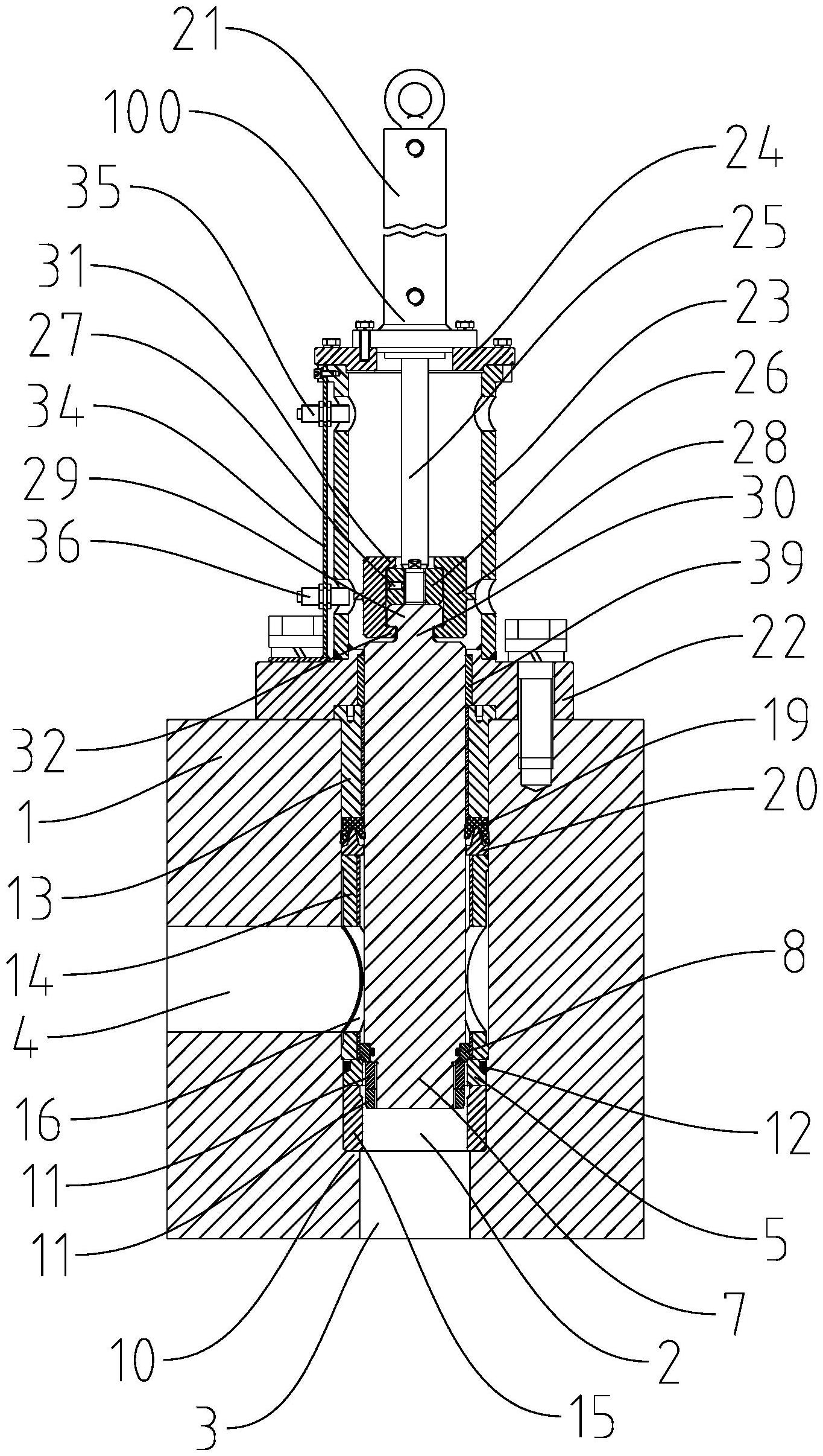
本实用新型公开了一种水压机用注水阀,它包括阀体、阀座、柱塞、阀芯和驱动机构;其中,所述阀体中设有阀通道、进水口以及出水口;所述阀座安装在所述阀通道中,所述阀座的外壁与所述阀通道的内壁密封连接,所述阀座的内侧设有连接通道,所述阀座位于所述进水口和所述出水口之间;所述柱塞直接或间接地滑动连接在所述阀通道中并在滑动过程中具有关闭位置和打开位置;所述阀芯连接在所述柱塞上,所述阀芯用于在所述柱塞滑动至所述关闭位置时与所述阀座密封抵接以封堵住所述连接通道;所述驱动机构与所述柱塞相连并用于驱动所述柱塞滑动。本实用新型能够避免频繁更换密封圈,能够避免因密封圈磨损和老化而引起的泄漏问题,使用更加方便。


