授权公布号:CN218109112U
一种CPE荒管端部减薄装置
有效
申请
2022-10-11
申请公布
1970-01-01
授权
2022-12-23
预估到期
2032-10-11
| 申请号 | CN202222675904.7 |
| 申请日 | 2022-10-11 |
| 授权公布号 | CN218109112U |
| 授权公告日 | 2022-12-23 |
| 分类号 | B21D41/00;B21D37/16 |
| 分类 | 基本上无切削的金属机械加工;金属冲压; |
| 申请人名称 | 江苏常宝钢管股份有限公司 |
| 申请人地址 | 江苏省常州市经开区延陵东路558号 |
专利法律状态
2022-12-23
授权
状态信息
授权
摘要
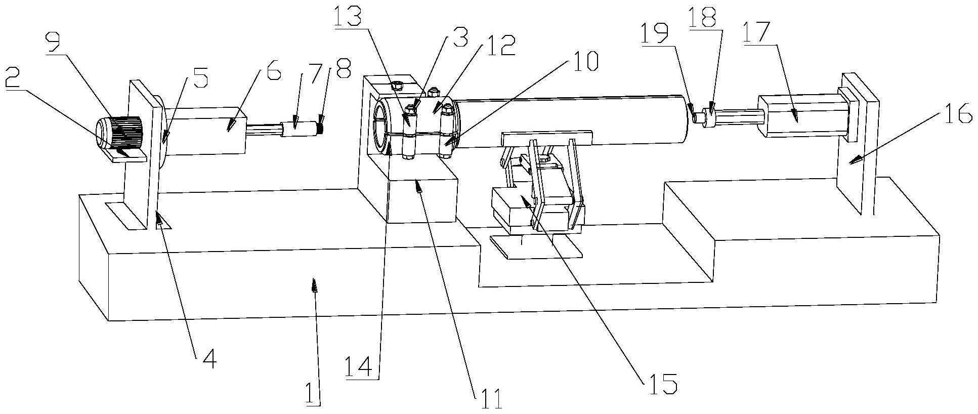
本实用新型公开一种CPE荒管端部减薄装置,属于管材生产技术领域,包括工作台,工作台上设有支撑座,支撑座上活动设有旋转底座,旋转底座上固定设有第一伸缩缸,支撑座上还设有支撑板,支撑板上设有电机,电机的输出端与旋转底座连接,工作台上位于支撑座的一旁设有第一安装座,第一安装座上固定连接有上圆模,上圆模上设有第一连接孔,上圆模下方设有下圆模,下圆模上设有第二连接孔,上圆模与下圆模之间夹有空心管,空心管内设有拉伸件,本实用新型通过设置伸缩缸将伸缩件推送至空心管关口处后,再微熔空心管的杯口,通过螺纹配合,使用另一个伸缩缸将伸缩件进行往外拉,伸缩件会对空心管的杯口进行挤压,最终使空心管的杯口变薄。


