授权公布号:CN218848038U
钢管探伤定位装置
有效
申请
2022-10-24
申请公布
1970-01-01
授权
2023-04-11
预估到期
2032-10-24
| 申请号 | CN202222803196.0 |
| 申请日 | 2022-10-24 |
| 授权公布号 | CN218848038U |
| 授权公告日 | 2023-04-11 |
| 分类号 | G01N27/84;G01N27/90;G01N29/04;G01N23/00;G01N21/64;G01N33/2045;B05B13/04;B05B12/00 |
| 分类 | 测量;测试; |
| 申请人名称 | 江苏常宝钢管股份有限公司 |
| 申请人地址 | 江苏省常州市经开区延陵东路558号 |
专利法律状态
2023-04-11
授权
状态信息
授权
摘要
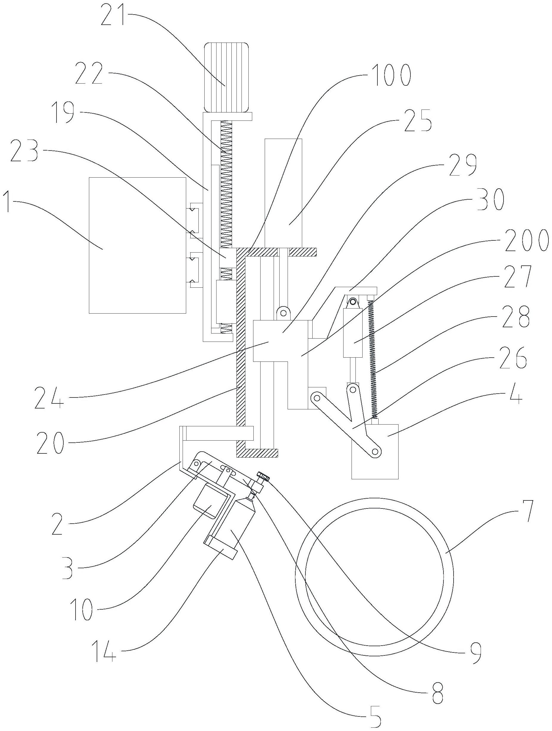
本实用新型公开了一种钢管探伤定位装置,它包括横梁、调节装置、横移驱动机构、喷座、按压机构和至少一个探伤仪;其中,至少一个所述探伤仪连接在所述调节装置上,所述调节装置沿横向滑动连接在所述横梁上;所述横移驱动机构与所述调节装置相连并用于驱动所述调节装置在所述横梁上滑动;所述喷座连接在所述调节装置上并跟随所述调节装置移动,所述喷座上用于放置喷漆罐;所述按压机构连接在所述喷座上,所述按压机构用于在所述探伤仪探测到缺陷时动作并按压所述喷漆罐上的喷嘴以向钢管上喷漆。本实用新型能够利用喷漆罐在缺陷处喷漆形成标记,不需要使用喷头,因此能够避免喷头堵塞的问题,避免频繁的拆卸和清洗工作,使用更加方便。


