授权公布号:CN220133299U
一种压型光伏组件连接系统
有效
申请
2023-05-10
申请公布
1970-01-01
授权
2023-12-05
预估到期
2033-05-10
| 申请号 | CN202321121598.0 |
| 申请日 | 2023-05-10 |
| 授权公布号 | CN220133299U |
| 授权公告日 | 2023-12-05 |
| 分类号 | E04D13/18;E04D3/365;E04D3/16;E04D13/00;E04B1/38;H02S20/24 |
| 分类 | 建筑物; |
| 申请人名称 | 杭萧钢构股份有限公司 |
| 申请人地址 | 浙江省杭州市萧山经济技术开发区 |
专利法律状态
2023-12-05
授权
状态信息
授权
摘要
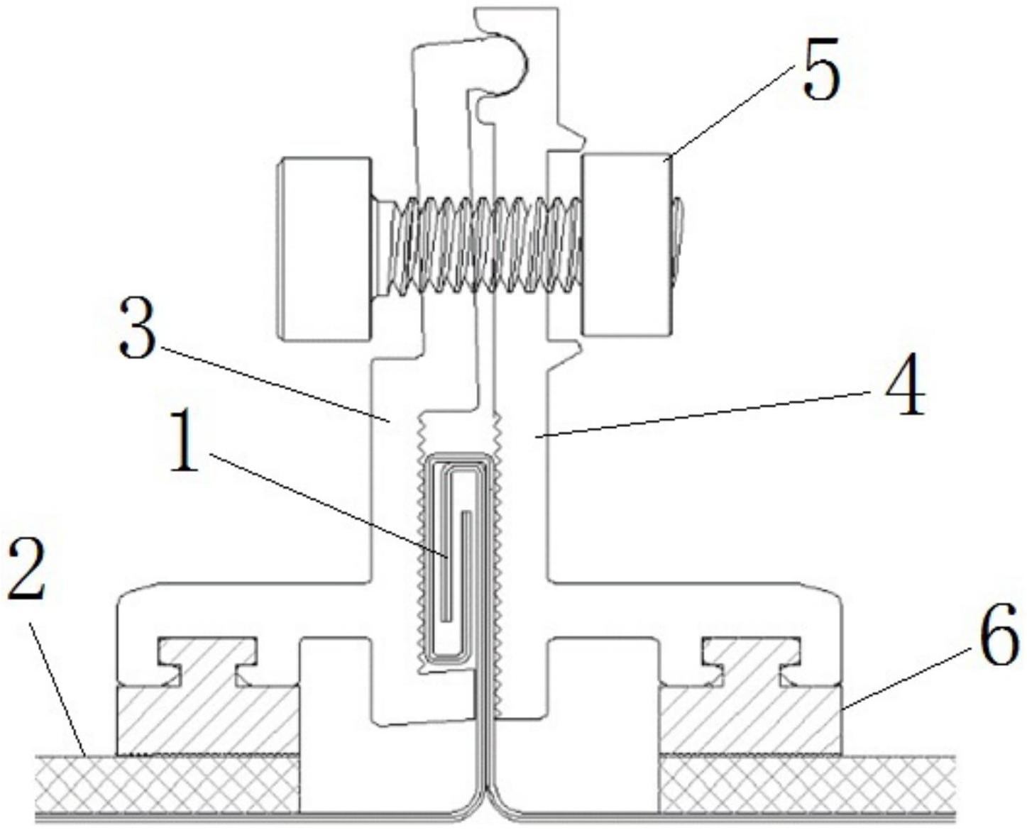
本申请公开了一种压型光伏组件连接系统,包括:屋面板锁边、光伏组件和组合式卡件。屋面板锁边设置于建筑屋顶上,包括锁边顶部和位于锁边顶部两侧的锁边平台。光伏组件设置于两侧的锁边平台上。组合式卡件包括设置于锁边顶部两侧的第一卡件和第二卡件;第一卡件与第二卡件可通过卡合连接使组合式卡件夹紧限位在锁边顶部上;第一卡件的底端与第二卡件的底端分别将两侧的光伏组件压制在对应的锁边平台上。因锁边顶部夹紧在组合式卡件内部,二者的相对位置固定,从而实现对于光伏组件的稳定压制安装。本申请利用屋面板锁边的平台支撑光伏组件的底部,提供足够的限位接触面积足够大,避免局部应力,避免了光伏组件损伤。


