授权公布号:CN112858422B
一种去抗坏血酸干扰的电化学尿酸试条及其制作与应用
有效
申请
2019-11-12
申请公布
2021-05-28
授权
2022-12-20
预估到期
2039-11-12
| 申请号 | CN201911098616.6 |
| 申请日 | 2019-11-12 |
| 申请公布号 | CN112858422A |
| 申请公布日 | 2021-05-28 |
| 授权公布号 | CN112858422B |
| 授权公告日 | 2022-12-20 |
| 分类号 | G01N27/30 |
| 分类 | 测量;测试; |
| 申请人名称 | 北京怡成生物电子技术股份有限公司 |
| 申请人地址 | 北京市朝阳区酒仙桥东路1号M2号楼5层 |
专利法律状态
2022-12-20
授权
状态信息
授权
2021-05-28
公布
状态信息
公布
摘要
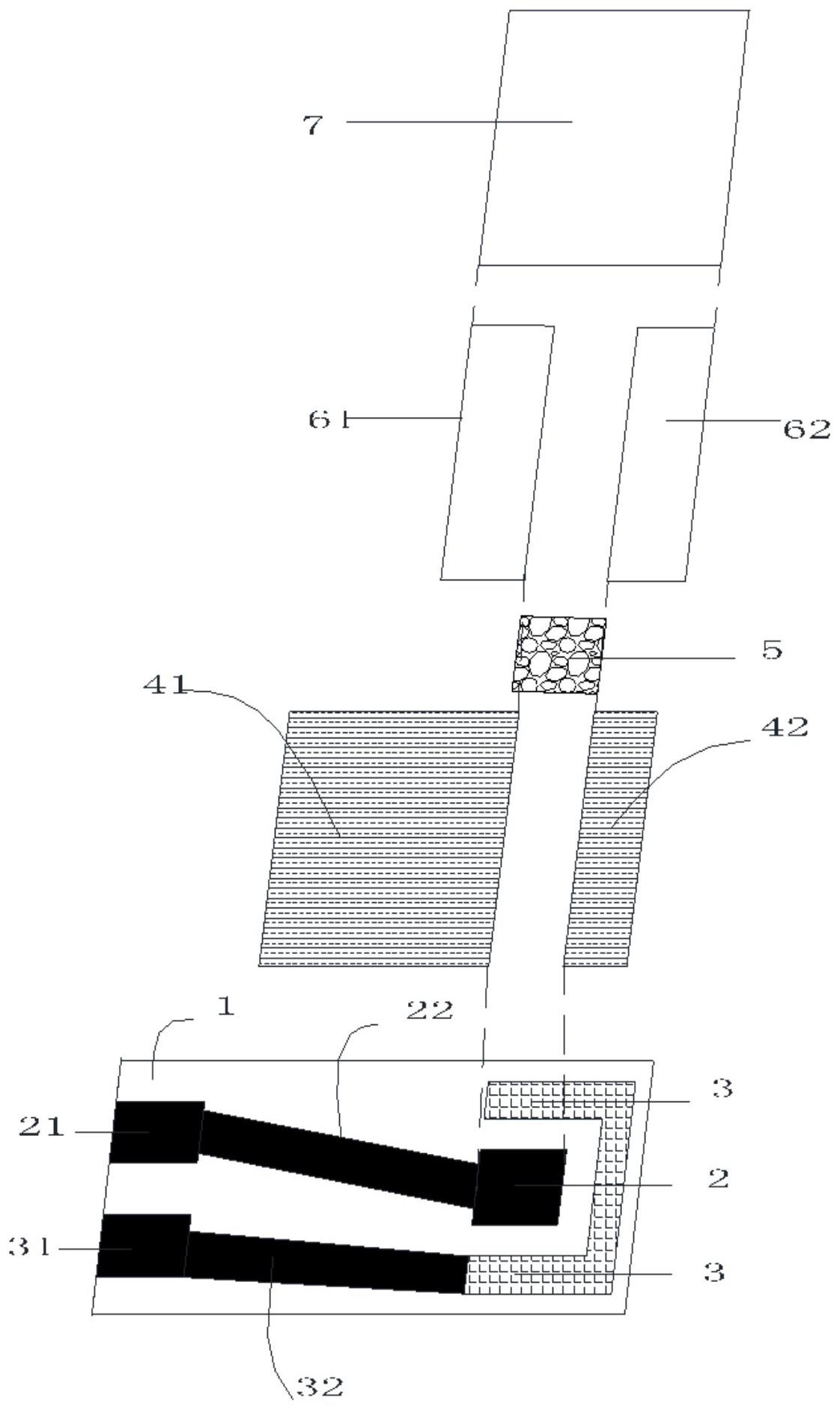
本发明提供了一种去抗坏血酸干扰的电化学尿酸试条及其制作与应用,该试条包括绝缘基底和电极,电极至少包括参比电极和用于尿酸测定的工作电极;所述工作电极的表面覆盖有试剂层;所述试剂层的成分包括过渡金属络合物;所述工作电极的成分包括高比表面积电活性物质。本发明所提供的该试条不需要尿酸氧化酶的参与,仅通过高比表面积电活性物质掺杂的工作电极以及该工作电极上的含有过渡金属络合物的试剂层就可以实现在较低电位下对尿酸的直接检测,而且其还可以显著降低抗坏血酸的干扰;该试条的制备简单,成本低,容易实现批量化的生产。


