授权公布号:CN114165021B
一种网络架空地板
有效
申请
2021-12-20
申请公布
2022-03-11
授权
2023-08-25
预估到期
2041-12-20
| 申请号 | CN202111560245.6 |
| 申请日 | 2021-12-20 |
| 申请公布号 | CN114165021A |
| 申请公布日 | 2022-03-11 |
| 授权公布号 | CN114165021B |
| 授权公告日 | 2023-08-25 |
| 分类号 | E04B1/70;E04F15/024;E04F15/18;E04F15/20 |
| 分类 | 建筑物; |
| 申请人名称 | 小河奔流科技集团有限公司 |
| 申请人地址 | 湖北省武汉市武昌区民主路717号金都华庭(洪广富苑)A单元22层3号 |
专利法律状态
2023-08-25
授权
状态信息
授权
2022-03-11
公布
状态信息
公布
摘要
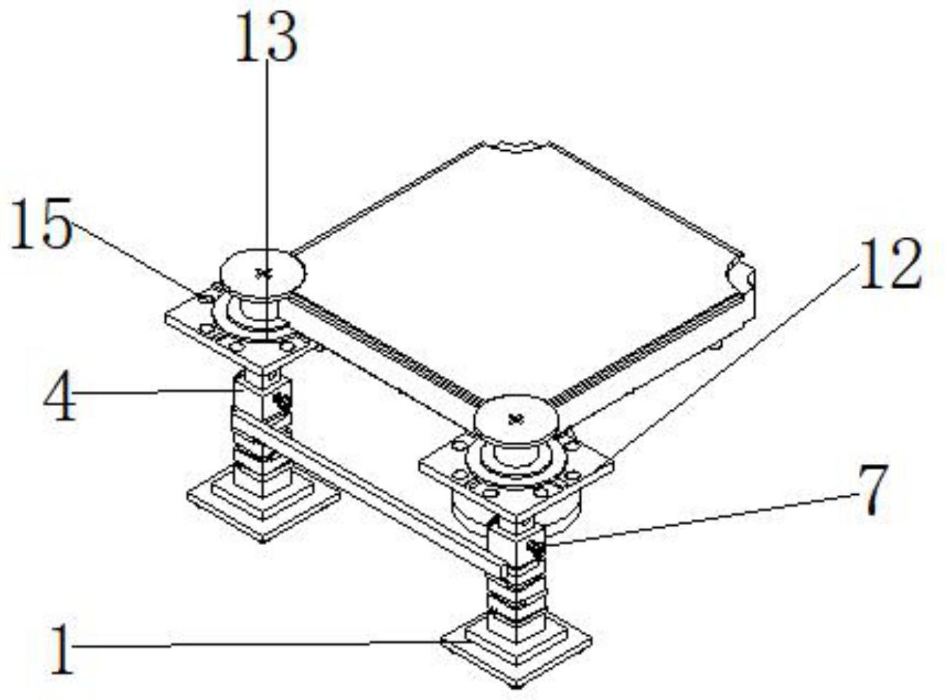
本发明公开了一种网络架空地板,涉及地板安装技术领域,针对现有的问题,现提出如下方案,包括安装底座,所述安装底座顶部中心位置处开有圆形通槽,且圆形通槽内部通过固定螺栓安装有支撑管,所述支撑管内壁滑动插接有支撑杆,且支撑杆顶部焊接有支撑板,所述支撑板顶部外壁焊接有定位件,且定位件顶部轴心位置处焊接有螺纹管。本发明其地板底部的支撑管利用固定螺栓螺接固定的方式进行安装,不仅能够有效降低支撑件所占用的空间,而且也便于后期维修更换,降低成产成本,而安装底座底部四角设置的防滑橡胶垫可以防止安装底座在使用过程中出现移动的情况,而且相邻支撑管之间还设有C型卡板进行固定,从而大大增加整体牢固性。


