授权公布号:CN211044566U
一种多媒体教学用实物展示台
有效
申请
2019-12-31
申请公布
1970-01-01
授权
2020-07-17
预估到期
2029-12-31
| 申请号 | CN201922469077.4 |
| 申请日 | 2019-12-31 |
| 授权公布号 | CN211044566U |
| 授权公告日 | 2020-07-17 |
| 分类号 | G09B5/02;G03B17/56 |
| 分类 | 教育;密码术;显示;广告;印鉴; |
| 申请人名称 | 上海乂学教育科技有限公司 |
| 申请人地址 | 上海市徐汇区田林东路588号B381室 |
专利法律状态
2020-10-27
专利权人的姓名或者名称、地址的变更
状态信息
专利权人的姓名或者名称、地址的变更;IPC(主分类):G09B5/02;专利号:ZL2019224690774;变更事项:专利权人;变更前:上海乂学教育科技有限公司;变更后:上海松鼠课堂人工智能科技有限公司;变更事项:地址;变更前:200025 上海市徐汇区田林东路588号B381室;变更后:200025 上海市徐汇区田林东路588号B381室
2020-07-17
授权
状态信息
授权
摘要
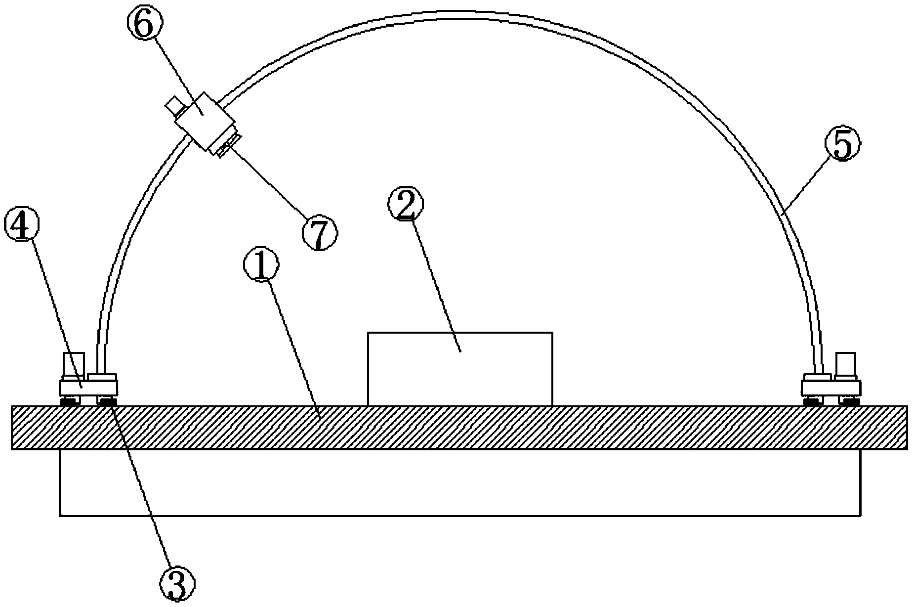
本实用新型公开了一种多媒体教学用实物展示台,包括:水平平台、放置台、导轨、水平行走机构、圆弧形导杆、竖直行走机构、摄像镜头,所述的水平平台为圆盘形平台,所述的放置台设置在水平平台上端面的中心位置,所述的导轨铺设在水平平台的外侧,导轨呈圆形,所述的水平行走机构设置在导轨上,水平行走机构设有两个,且两个水平行走机构的行走方向相反,所述的圆弧形导杆为半圆形,圆弧形导杆的两端分别固接在两个水平行走机构的顶端,所述的竖直行走机构设置在圆弧形导杆上,所述的摄像镜头固接在竖直行走机构的内侧,所述的圆弧形导杆为大于半圆的优弧形。本实用新型具有结构简单、使用方便、使用效果好等优点。


