授权公布号:CN211294323U
一种文言文教学用对照学习装置
有效
申请
2019-12-31
申请公布
1970-01-01
授权
2020-08-18
预估到期
2029-12-31
| 申请号 | CN201922479940.4 |
| 申请日 | 2019-12-31 |
| 授权公布号 | CN211294323U |
| 授权公告日 | 2020-08-18 |
| 分类号 | G09B19/00 |
| 分类 | 教育;密码术;显示;广告;印鉴; |
| 申请人名称 | 上海乂学教育科技有限公司 |
| 申请人地址 | 上海市徐汇区田林东路588号B381室 |
专利法律状态
2020-10-27
专利权人的姓名或者名称、地址的变更
状态信息
专利权人的姓名或者名称、地址的变更;IPC(主分类):G09B 19/00;专利号:ZL2019224799404;变更事项:专利权人;变更前:上海乂学教育科技有限公司;变更后:上海松鼠课堂人工智能科技有限公司;变更事项:地址;变更前:200025 上海市徐汇区田林东路588号B381室;变更后:200025 上海市徐汇区田林东路588号B381室
2020-08-18
授权
状态信息
授权
摘要
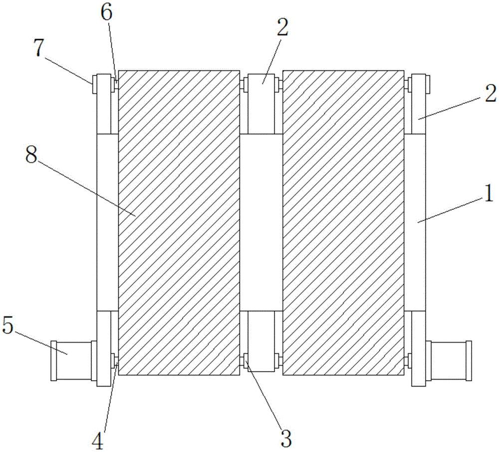
本实用新型公开了一种文言文教学用对照学习装置,包括:展示面板、支架、轴承座、主动轴、驱动电机、从动轴、摩擦片、卷曲布,所述的展示面板由方形框架以及固接在方形框架前部的平板组成,所述的支架固接在展示面板的上下两端,其中一端的支架数量为三个,所述的主动轴通过轴承座安装在下端支架的下端,所述的驱动电机固接在支架上,且驱动电机输出轴与主动轴连接,所述的从动轴通过轴承座安装在上端支架的上端,所述的摩擦片设置在从动轴的两侧,所述的卷曲布一端缠绕在主动轴上,另一端缠绕在从动轴上,而中部平铺在展示面板上,所述的卷曲布在展示面板的两侧对称设置有两组。本实用新型具有结构简单、使用方便、使用效果好等优点。


