授权公布号:CN211044688U
教学用学习卡片悬挂器
有效
申请
2019-12-31
申请公布
1970-01-01
授权
2020-07-17
预估到期
2029-12-31
| 申请号 | CN201922469083.X |
| 申请日 | 2019-12-31 |
| 授权公布号 | CN211044688U |
| 授权公告日 | 2020-07-17 |
| 分类号 | G09B19/00 |
| 分类 | 教育;密码术;显示;广告;印鉴; |
| 申请人名称 | 上海乂学教育科技有限公司 |
| 申请人地址 | 上海市徐汇区田林东路588号B381室 |
专利法律状态
2020-10-27
专利权人的姓名或者名称、地址的变更
状态信息
专利权人的姓名或者名称、地址的变更;IPC(主分类):G09B 19/00;专利号:ZL201922469083X;变更事项:专利权人;变更前:上海乂学教育科技有限公司;变更后:上海松鼠课堂人工智能科技有限公司;变更事项:地址;变更前:200025 上海市徐汇区田林东路588号B381室;变更后:200025 上海市徐汇区田林东路588号B381室
2020-07-17
授权
状态信息
授权
摘要
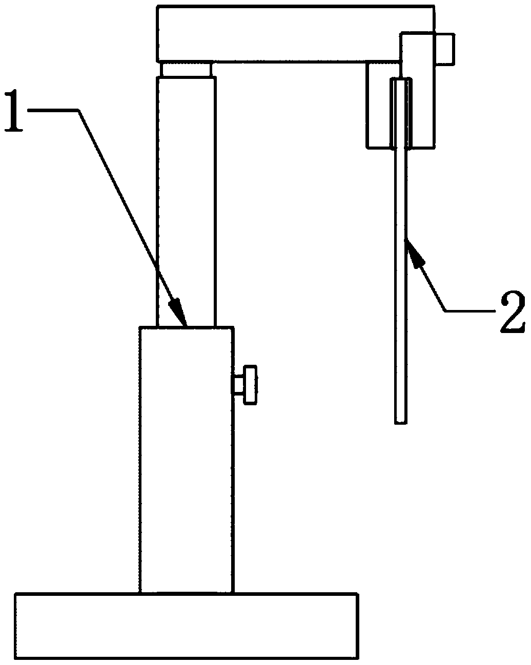
本实用新型提供教学用学习卡片悬挂器,包括学习卡片主体、转动杆、轴承、连接柱、固定柱、固定底座、活动夹板、固定夹板、转动轴以及卡紧弹簧,学习卡片主体左侧设置有固定柱,固定柱上侧安装有连接柱,固定柱下端面连接有固定底座,连接柱上端面安装有轴承,轴承内部安装有转动轴,转动轴上端面安装有转动杆,转动杆下端面右侧安装有固定夹板,固定夹板右侧安装有活动夹板,转动杆内部下侧安装有卡紧弹簧,该设计解决了原有教学用学习卡片悬挂器使用效果不好的问题,本实用新型结构合理,便于组合安装,使用效果好,实用性强。


