授权公布号:CN108672051B
一种便于下料的中药粉碎研磨一体机
有效
申请
2018-03-28
申请公布
2018-10-19
授权
2020-04-28
预估到期
2038-03-28
| 申请号 | CN201810264272.0 |
| 申请日 | 2018-03-28 |
| 申请公布号 | CN108672051A |
| 申请公布日 | 2018-10-19 |
| 授权公布号 | CN108672051B |
| 授权公告日 | 2020-04-28 |
| 分类号 | B02C18/26;B02C23/02;B02C23/16;B02C7/08 |
| 分类 | 破碎、磨粉或粉碎;谷物碾磨的预处理; |
| 申请人名称 | 亳州市沪谯药业有限公司 |
| 申请人地址 | 安徽省亳州市工业园区 |
专利法律状态
2020-04-28
授权
状态信息
授权
2020-04-17
专利申请权、专利权的转移
状态信息
专利申请权的转移 IPC(主分类):B02C18/26 登记生效日:20200330 变更前申请人:王紫蓉 变更前地址:266000 山东省青岛市市南区香港中路93号丽晶御筑1006室 变更后申请人:亳州市沪谯药业有限公司 变更后地址:236000 安徽省亳州市工业园区
2020-03-27
著录事项变更
状态信息
著录事项变更 IPC(主分类):B02C18/26 变更前发明人:王紫蓉 变更后发明人:胡中盛 变更后发明人:何娥英 变更后发明人:王紫蓉
2018-11-13
实质审查的生效
状态信息
实质审查的生效IPC(主分类):B02C 18/26
2018-10-19
公布
状态信息
公开
摘要
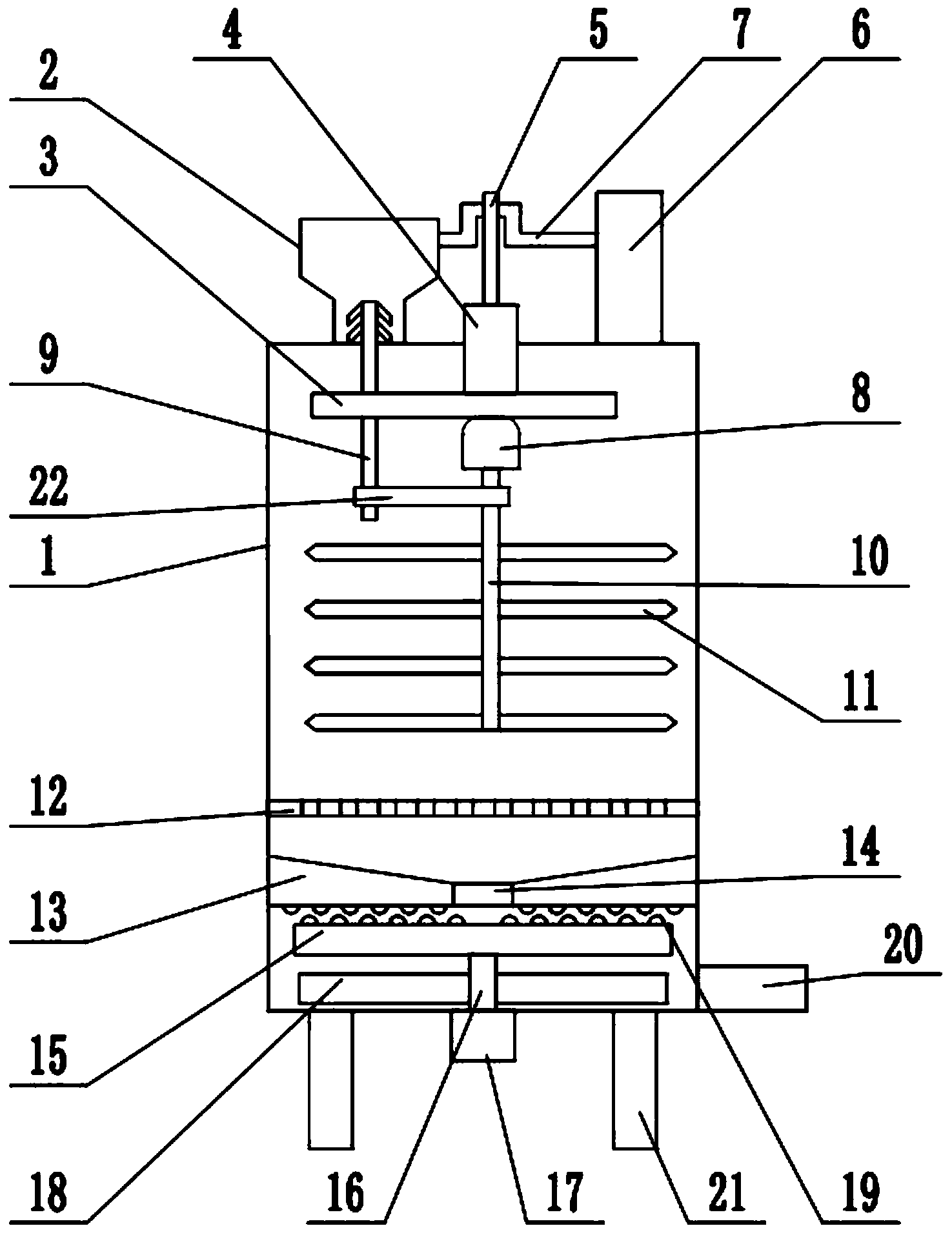
本发明公开了一种便于下料的中药粉碎研磨一体机,包括外壳、进料口、粉碎轴、筛板、排料口和支脚,外壳的顶部固定连接有进料口,外壳的内部设有安装板,安装板的上表面固定连接有活动柱,外壳的上表面固定连接有振动电机,安装板的下表面固定连接有粉碎电机,粉碎电机的轴伸端固定连接有粉碎轴,粉碎轴上分布有粉碎刃,粉碎轴的下方设有筛板,筛板的下方设有上研磨盘,上研磨盘的下表面设有下研磨盘,利用粉碎刃对中药进行粉碎,利用振动电机带动粉碎刃上下移动,扩大了粉碎范围,提高了粉碎效果,下料转动的同时上下移动,防止中药堵塞进料口,经过粉碎后的中药颗粒落到下研磨盘上,利用研磨盘对中药进行研磨。


