授权公布号:CN211584310U
一种快速软化的润药设备
有效
申请
2020-01-20
申请公布
1970-01-01
授权
2020-09-29
预估到期
2030-01-20
| 申请号 | CN202020125543.7 |
| 申请日 | 2020-01-20 |
| 授权公布号 | CN211584310U |
| 授权公告日 | 2020-09-29 |
| 分类号 | A61J3/00 |
| 分类 | 医学或兽医学;卫生学; |
| 申请人名称 | 亳州市沪谯药业有限公司 |
| 申请人地址 | 安徽省亳州市工业园区 |
专利法律状态
2020-09-29
授权
状态信息
授权
摘要
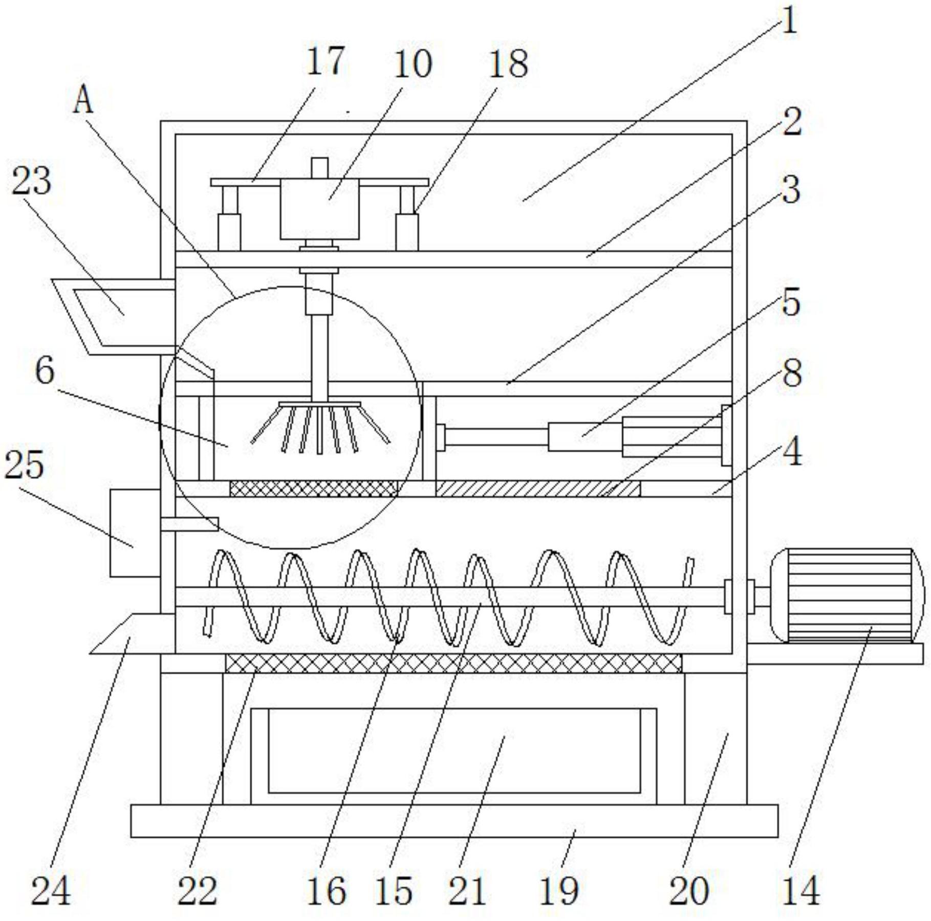
本实用新型公开了一种快速软化的润药设备,包括底板和箱体,箱体的内部固定安装有第一隔板、第二隔板和第三隔板,箱体的内部且位于第二隔板和第三隔板至今固定安装有第一伸缩气缸,第一伸缩气缸的输出端固定安装有润药框,润药框的顶部与第二隔板的底部滑动连接,第三隔板的底部开设有充气网和下料槽,第二隔板的内部与充气网对应的位置开设有搅拌槽,第一隔板设置有第一转动电机,第一转动电机通过升降装置与第一隔板的顶部固定连接。本实用新型通过设置了润药框和蒸汽发生器等元件,使药片可以湿润,且降低含水量,防止有效成分流失,并通过移动润药框,在通过旋转板将原料运出可实现快速的下料,方便操作,节省人力物力。


