授权公布号:CN213034864U
一种新型硫镁板生产设备
有效
申请
2020-06-15
申请公布
1970-01-01
授权
2021-04-23
预估到期
2030-06-15
| 申请号 | CN202021098723.7 |
| 申请日 | 2020-06-15 |
| 授权公布号 | CN213034864U |
| 授权公告日 | 2021-04-23 |
| 分类号 | B28B1/32;B28B19/00;B28B3/12 |
| 分类 | 加工水泥、黏土或石料; |
| 申请人名称 | 上海新垄建筑装饰有限公司 |
| 申请人地址 | 上海市浦东新区朝阳农场军港路8号12、13、14幢 |
专利法律状态
2021-04-23
授权
状态信息
授权
摘要
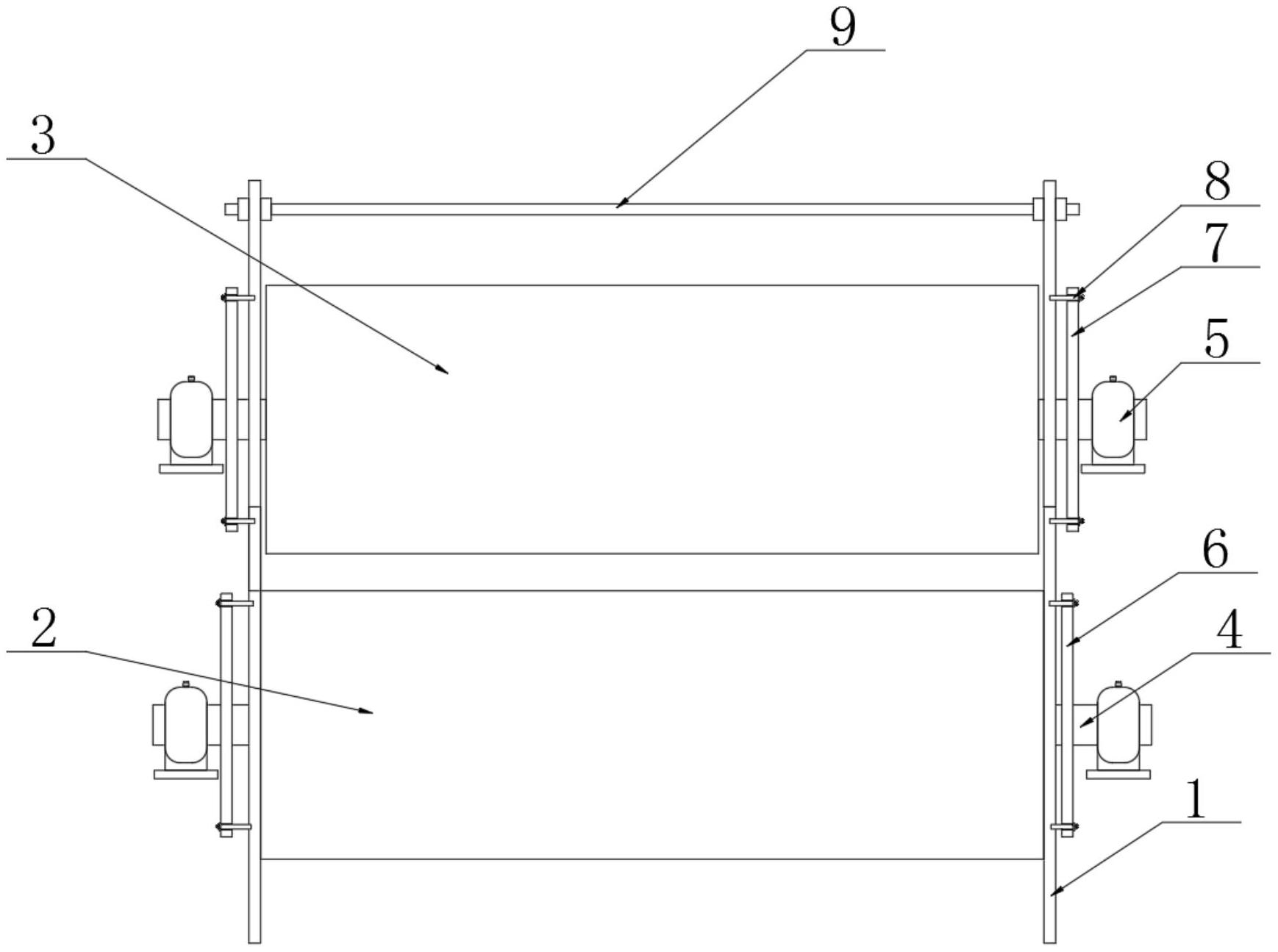
本实用新型公开了一种新型硫镁板生产设备,包括机架、下辊、上辊、网格布放卷机、限位机构和纠偏机构,限位机构位于机架的内侧,限位机构包括传动轴,传动轴的外部螺纹套接有螺母,下辊和上辊的两侧设置有下辊限位装置和上辊挡板,下辊限位装置和上辊挡板的内部均螺纹套接有固定螺栓,机架的内侧固定连接有顶板,下辊限位装置和上辊挡板的内部均开设有螺纹槽和固定槽;通过设计的接近传感器可以检测网格布和熔喷布的边缘,再用检测结果控制气压杆,从而来通过气压杆来纠偏纠偏辊的摆动,从而避免网格布和熔喷布在行进过程中走偏,缩短了生产线的长度,节约率厂房空间,降低了人工成本,缩短了生产周期。


