授权公布号:CN213953434U
一种隔音较好的室内钢制安全门
有效
申请
2020-11-27
申请公布
1970-01-01
授权
2021-08-13
预估到期
2030-11-27
| 申请号 | CN202022794662.4 |
| 申请日 | 2020-11-27 |
| 授权公布号 | CN213953434U |
| 授权公告日 | 2021-08-13 |
| 分类号 | E06B5/20;E06B3/70;E06B7/28;G10K11/16 |
| 分类 | 一般门、窗、百叶窗或卷辊遮帘;梯子; |
| 申请人名称 | 格满林(南京)新型材料科技有限公司 |
| 申请人地址 | 江苏省南京市溧水经济开发区福田路9号 |
专利法律状态
2021-08-13
授权
状态信息
授权
摘要
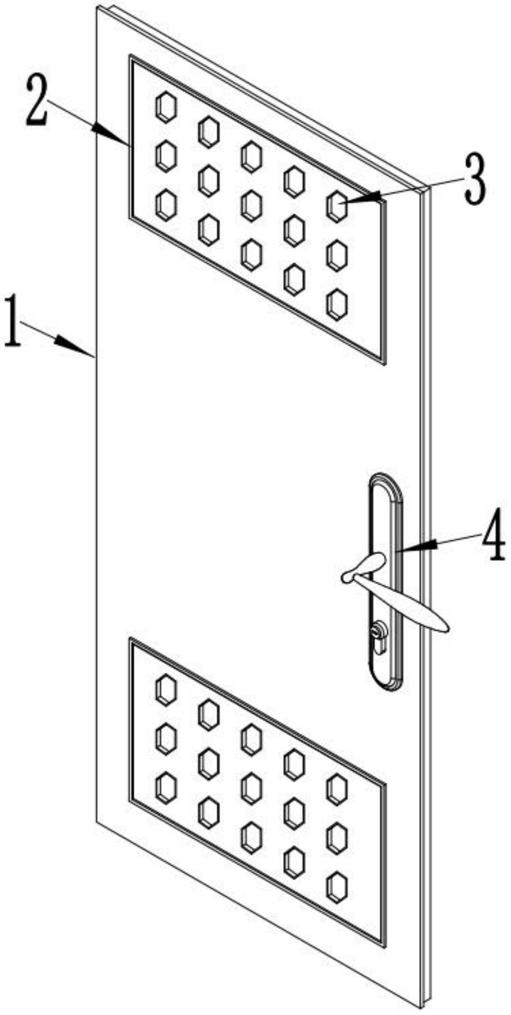
本实用新型公开了一种隔音较好的室内钢制安全门,包括门体,门体上固定安装有把手;所述门体的上下两侧对称设置有两个吸音区域,门体在吸音区域中均匀开设有若干蜂窝孔;所述门体的中间位置设置有隔音区域,所述隔音区域包括开设于门体内部的隔音腔,隔音腔的内部固定安装有若干隔音玻璃。本实用新型在门体的上下两侧对称设置有两个吸音区域,门体在吸音区域中均匀开设有若干蜂窝孔,噪音声波穿过门体时被蜂窝孔吸收,极大阻止了声波的传播,提高安全门的隔音能力;还在门体的中间位置设置有隔音区域,隔音区域包括开设于门体内部的隔音腔,隔音腔的内部固定安装有若干隔音玻璃,提高隔音区域的隔音能力,进而提高安全门的隔音能力。


