授权公布号:CN217106654U
一种圆弧式铝合金门边
有效
申请
2022-01-08
申请公布
1970-01-01
授权
2022-08-02
预估到期
2032-01-08
| 申请号 | CN202220035436.4 |
| 申请日 | 2022-01-08 |
| 授权公布号 | CN217106654U |
| 授权公告日 | 2022-08-02 |
| 分类号 | E06B3/12;E06B3/968 |
| 分类 | 一般门、窗、百叶窗或卷辊遮帘;梯子; |
| 申请人名称 | 格满林(南京)新型材料科技有限公司 |
| 申请人地址 | 江苏省南京市溧水经济开发区福田路9号 |
专利法律状态
2022-08-02
授权
状态信息
授权
摘要
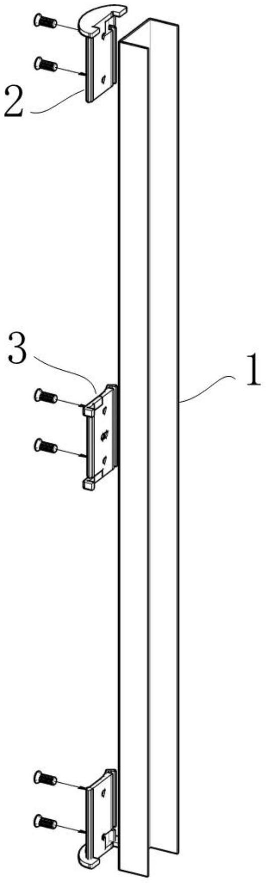
本实用新型公开了一种圆弧式铝合金门边,应用于门边,包括内框和至少一个将所述门边安装于内框上的卡件,所述卡件设有第一卡接结构,所述门边内侧设有与所述第一卡接结构相配合的第二卡接结构,控制第二卡接结构与第一卡接结构卡接配合,以使门边固定安装于内框上,从而将第一、第二卡接结构隐藏,提高了门边安装后的美观性。本实用新型设有将所述门边安装于内框上的卡件,卡件设有第一卡接结构,门边内侧设有与所述第一卡接结构相配合的第二卡接结构,控制第二卡接结构与第一卡接结构卡接配合,使门边固定安装于内框上,从而将第一、第二卡接结构隐藏,提高了门边安装后的美观性。


