授权公布号:CN217681169U
一种五孔合页快速安装定位件
有效
申请
2022-01-08
申请公布
1970-01-01
授权
2022-10-28
预估到期
2032-01-08
| 申请号 | CN202220035412.9 |
| 申请日 | 2022-01-08 |
| 授权公布号 | CN217681169U |
| 授权公告日 | 2022-10-28 |
| 分类号 | E05D5/02 |
| 分类 | 锁;钥匙;门窗零件;保险箱; |
| 申请人名称 | 格满林(南京)新型材料科技有限公司 |
| 申请人地址 | 江苏省南京市溧水经济开发区福田路9号 |
专利法律状态
2022-10-28
授权
状态信息
授权
摘要
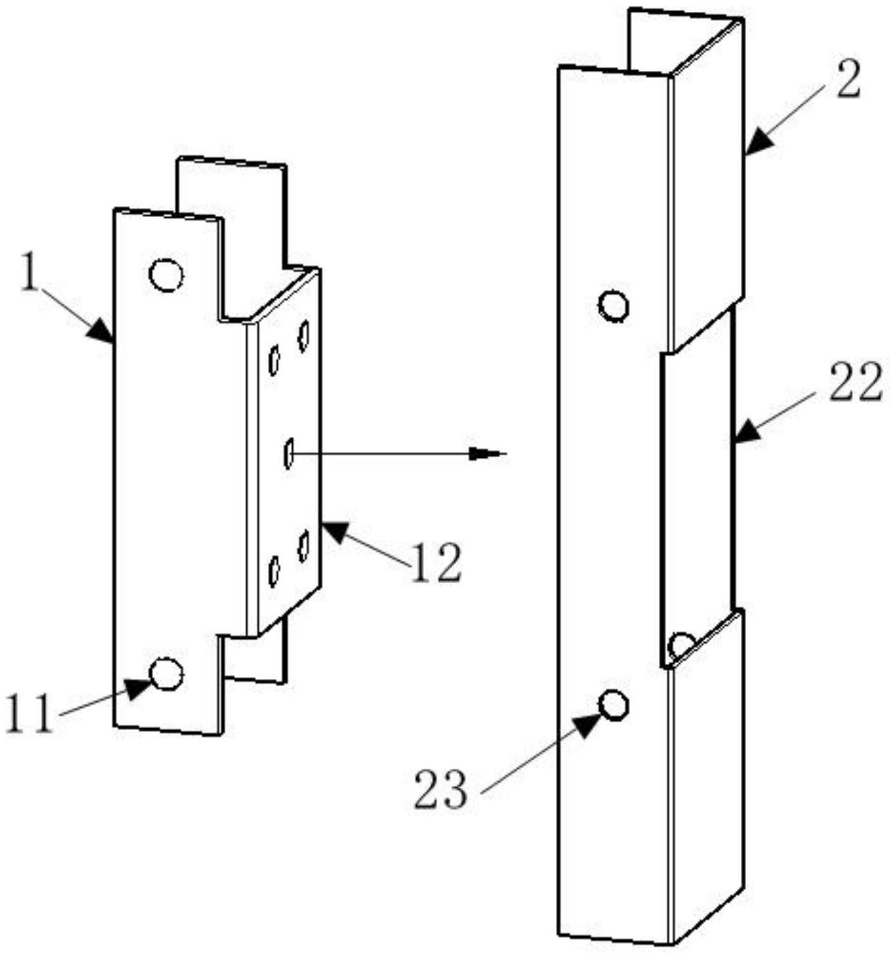
本实用新型公开了一种五孔合页快速安装定位件,包括相互配合的第一定位组件和第二定位组件,所述第一定位组件上设有至少一个凸起部,所述第二定位组件上设有与所述凸起部相配合的卡接部,控制凸起部与相应的卡接部连接,以使第一定位组件和第二定位组件连接安装。本实用新型设置相互配合的第一定位组件和第二定位组件,第一定位组件上设有至少一个凸起部,第二定位组件上设有与所述凸起部相配合的卡接部,通过控制凸起部与相应的卡接部连接,使第一定位组件和第二定位组件连接安装,从而减少了合页的安装工时,提高了合页的安装效率。


