授权公布号:CN216321940U
一种人造金红石的反应装置
有效
申请
2021-11-26
申请公布
1970-01-01
授权
2022-04-19
预估到期
2031-11-26
| 申请号 | CN202122997875.1 |
| 申请日 | 2021-11-26 |
| 授权公布号 | CN216321940U |
| 授权公告日 | 2022-04-19 |
| 分类号 | B01J19/18 |
| 分类 | 一般的物理或化学的方法或装置; |
| 申请人名称 | 龙佰集团股份有限公司 |
| 申请人地址 | 河南省焦作市中站区冯封办事处 |
专利法律状态
2022-04-19
授权
状态信息
授权
摘要
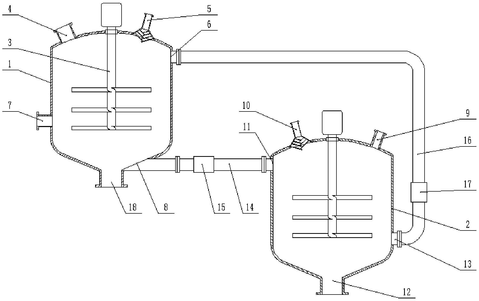
本实用新型涉及化工技术领域,公开了一种人造金红石的反应装置,包括一级反应罐和二级反应罐,一级反应罐和二级反应罐上均设有搅拌组件,所述一级反应罐的顶部设有矿料入口、排气口一和进液口,一级反应罐的下部设有母液出口和出料口;所述二级反应罐的顶部设有酸液入口、排气口二和进料口,二级反应罐的下部设有渣料出口和出液口,所述进料口通过输料管与出料口相连通,所述出液口通过输液管与进液口相连通。该装置通过设置一级反应罐和二级反应罐,实现了酸液与钛铁矿料的分级反应,可有效降低反应的剧烈程度,从而减少尾气中矿料颗粒的携带量,同时有效降低了人造金红石母液的酸度,从而为人造金红石母液的后继生产利用提供便利。


