授权公布号:CN218058485U
人造金红石的生产系统和二氧化钛生产系统
有效
申请
2022-08-26
申请公布
1970-01-01
授权
2022-12-16
预估到期
2032-08-26
| 申请号 | CN202222282036.6 |
| 申请日 | 2022-08-26 |
| 授权公布号 | CN218058485U |
| 授权公告日 | 2022-12-16 |
| 分类号 | C01G23/053;C01G49/14;C01B25/37 |
| 分类 | 无机化学; |
| 申请人名称 | 龙佰集团股份有限公司 |
| 申请人地址 | 河南省焦作市中站区冯封办事处 |
专利法律状态
2022-12-16
授权
状态信息
授权
摘要
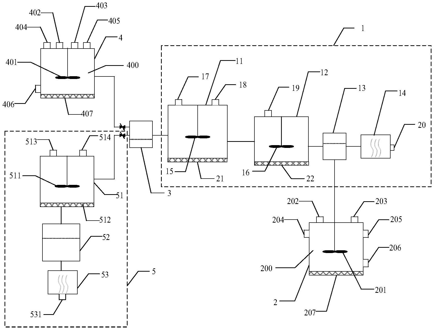
本实用新型涉及人造金红石技术领域,具体而言,涉及人造金红石的生产系统和二氧化钛生产系统。人造金红石的生产系统包括人造金红石制备装置,以及分别与所述人造金红石制备装置相连接的第一聚合硫酸铁制备装置、第二聚合硫酸铁制备装置和磷酸铁制备装置。该人造金红石的生产系统可实现在生产高品质人造金红石的同时联产得到高品质聚合硫酸铁、低品质聚合硫酸铁和磷酸铁,实现了资源的循环利用,解决了现有技术中存在的人造金红石母液难处理的问题。


