授权公布号:CN218077222U
一种硫酸法钛白煅烧尾气综合治理装置
有效
申请
2022-08-23
申请公布
1970-01-01
授权
2022-12-20
预估到期
2032-08-23
| 申请号 | CN202222228859.0 |
| 申请日 | 2022-08-23 |
| 授权公布号 | CN218077222U |
| 授权公告日 | 2022-12-20 |
| 分类号 | B01D53/78;B01D53/50;B03C3/017 |
| 分类 | 一般的物理或化学的方法或装置; |
| 申请人名称 | 龙佰集团股份有限公司 |
| 申请人地址 | 河南省焦作市中站区冯封办事处 |
专利法律状态
2022-12-20
授权
状态信息
授权
摘要
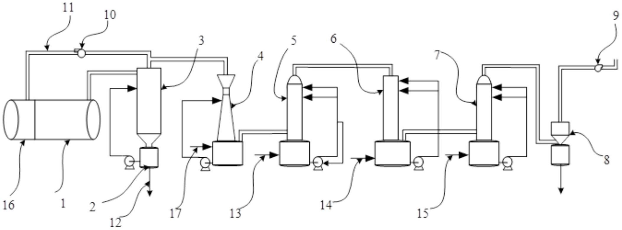
本实用新型公开了一种硫酸法钛白煅烧尾气综合治理装置,沿尾气流通方向依次包括静电除尘器、文丘里塔、一级脱硫塔、脱硝空塔、二级脱硫塔和等离子除尘器;所述静电除尘器的进口端连接钛白煅烧设备的尾气出口,出口端还设有尾气回流管路。本实用新型通过使用回风燃烧技术,将初步净化后的高温尾气引入煅烧设备燃烧室重新参与燃烧,减少新鲜冷空气引入量降低天然气单耗,同时降低了燃烧室内气体的氧含量,降低了氮氧化物产生量。另一方面采用双级脱硫,保证尾气二氧化硫含量达到排放标准指标要求。该技术的使用实现了节能、降耗、减污的目的,在硫酸法钛白生产领域具有重大意义。


