授权公布号:CN213349553U
胶水混合装置
有效
申请
2020-07-29
申请公布
1970-01-01
授权
2021-06-04
预估到期
2030-07-29
| 申请号 | CN202021543623.0 |
| 申请日 | 2020-07-29 |
| 授权公布号 | CN213349553U |
| 授权公告日 | 2021-06-04 |
| 分类号 | B05C11/10 |
| 分类 | 一般喷射或雾化;对表面涂覆液体或其他流体的一般方法〔2〕; |
| 申请人名称 | 上海域金澜优实业有限公司 |
| 申请人地址 | 上海市青浦区白鹤镇外青松公路3560号1号楼2层H区2332室 |
专利法律状态
2021-06-04
授权
状态信息
授权
摘要
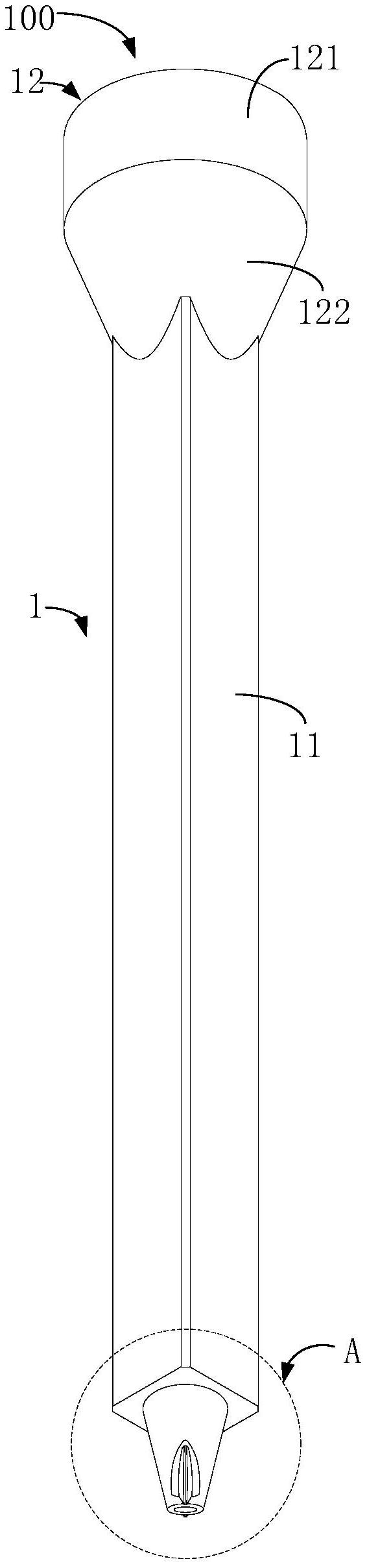
本实用新型涉及一种胶水混合装置,包括注胶管和混胶芯体。注胶管包括管体及分设于所述管体相对两端的进胶部和出胶部。混胶芯体设于所述管体内,且和所述管体的内部轮廓相适配。其中,所述混胶芯体的一侧设有多个沿其长度方向依次分布的第一S型流道,其相对的另一侧设有多个沿其长度方向依次分布的第二S型流道。多个所述第一S型流道和多个所述第二S型流道一一对应设置,相对应的所述第一S型流道和所述第二S型流道相连通,且所述第一S型流道和与其位置相邻的所述第二S型流道相连通。所述出胶部的外壁沿其周侧间隔设置有至少两个循迹件,所述循迹件朝向所述出胶部背离所述管体的一侧延伸。


