授权公布号:CN213096731U
一种具有折叠防尘功能的轻质牙刷
有效
申请
2020-09-27
申请公布
1970-01-01
授权
2021-05-04
预估到期
2030-09-27
| 申请号 | CN202022156821.8 |
| 申请日 | 2020-09-27 |
| 授权公布号 | CN213096731U |
| 授权公告日 | 2021-05-04 |
| 分类号 | A46B5/00;A46B11/02;A46B17/04;A46B9/04 |
| 分类 | 刷类制品; |
| 申请人名称 | 上海域金澜优实业有限公司 |
| 申请人地址 | 上海市青浦区白鹤镇外青松公路3560号1号楼2层H区2332室 |
专利法律状态
2021-05-04
授权
状态信息
授权
摘要
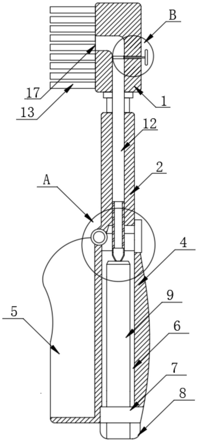
本实用新型公开了一种具有折叠防尘功能的轻质牙刷,具体涉及日常用品技术领域,包括刷头,刷头的底部可拆卸安装有刷杆,刷杆的另一端通过铰链连接有刷柄,刷柄的一侧开设有容纳槽,刷柄的内部开设有放置腔,刷柄的底部卡接有旋钮座,旋钮座的一侧设置有牙膏挤出组件,放置腔的内部设置有牙膏。上述方案,所述刷头、刷杆、铰链、刷柄和容纳槽达到折叠防尘的效果,在使用人员使用本牙刷进行刷牙之后,由于刷杆与刷柄通过铰链连接,使用人员就可以将刷头收进容纳槽中,从而防止刷头裸露在外产生污染,避免使用污染后的牙刷危害使用人员牙齿的情况发生,牙刷实现折叠放置,大大节省了空间,方便使用人员的携带。


