授权公布号:CN207691585U
一种新型电机内部有害气体排出透气阀
失效
申请
2018-01-23
申请公布
1970-01-01
授权
2018-08-03
预估到期
2028-01-23
| 申请号 | CN201820111326.5 |
| 申请日 | 2018-01-23 |
| 授权公布号 | CN207691585U |
| 授权公告日 | 2018-08-03 |
| 分类号 | H02K5/22 |
| 分类 | 发电、变电或配电; |
| 申请人名称 | 江门市江晟电机厂有限公司 |
| 申请人地址 | 广东省江门市礼乐镇新华奖围 |
专利法律状态
2024-02-02
专利权的终止
状态信息
未缴年费专利权终止;IPC(主分类):H02K5/22;专利号:ZL2018201113265;申请日:20180123;授权公告日:20180803;终止日期:
2018-08-03
授权
状态信息
授权
摘要
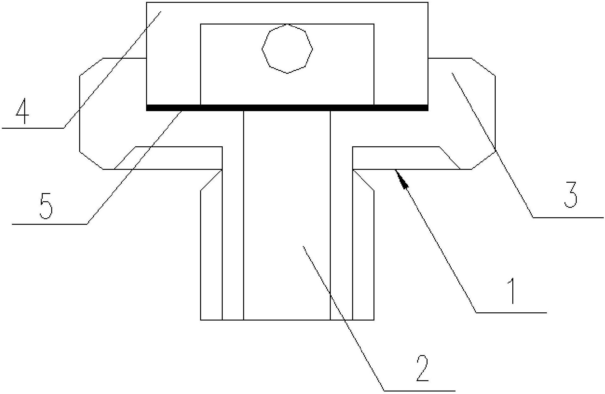
本实用新型公开了一种新型电机内部有害气体排出透气阀,包括阀门安装座、空心螺纹杆、六角螺母、防尘罩和高分子透气膜,所述阀门安装座为一体式结构,所述阀门安装座包括空心螺纹杆和六角螺母,所述六角螺母安装在空心螺纹杆顶部,所述六角螺母上部设置有圆孔,圆孔中安装有透气膜结构,所述透气膜结构由防尘罩和高分子透气膜构成,所述防尘罩安装在高分子透气膜上;当电机运转时内部温度升高,内部气压比外部大,将内部气体部分排出机外,不断循环,使电机内部产生的有害气体不断稀释;高分子膜能够透气但不能透过水,能严禁水流入电机,起到保护电机的作用,延长电机使用寿命,同时本新型结构简单,体积精巧,易于生产,利于广泛推广应。


