授权公布号:CN210595955U
一种生物质可燃气过滤罐
有效
申请
2019-07-18
申请公布
1970-01-01
授权
2020-05-22
预估到期
2029-07-18
| 申请号 | CN201921134802.6 |
| 申请日 | 2019-07-18 |
| 授权公布号 | CN210595955U |
| 授权公告日 | 2020-05-22 |
| 分类号 | C10K1/02;B01D46/02 |
| 分类 | 石油、煤气及炼焦工业;含一氧化碳的工业气体;燃料;润滑剂;泥煤; |
| 申请人名称 | 承德华净活性炭有限公司 |
| 申请人地址 | 河北省承德市平泉县经济开发区58号 |
专利法律状态
2020-05-22
授权
状态信息
授权
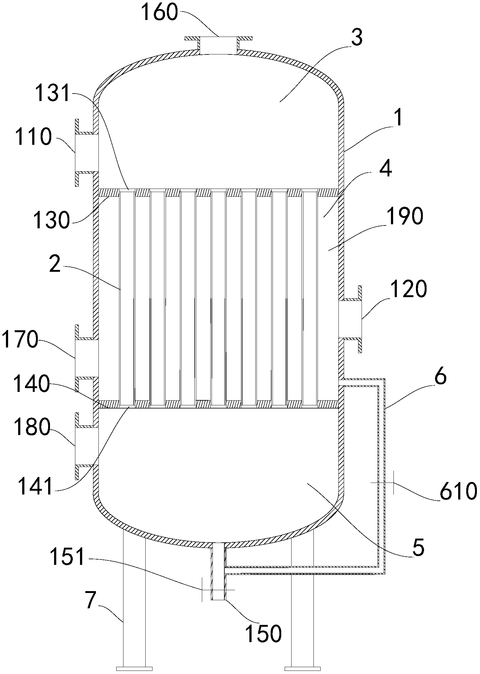
摘要
本实用新型涉及一种生物质可燃气过滤罐,包括罐体、过滤布袋,罐体内从上至下依次设有相互独立的集气腔、过滤腔和集液腔,罐体上在对应集气腔和过滤腔处分别设有进气口和出气口,集气腔与过滤腔之间设有多个将集气腔与过滤腔连通的第一通孔,过滤腔与集液腔之间设有多个将过滤腔与集液腔连通的第二通孔,过滤布袋布设在过滤腔内,且过滤布袋两端的开口分别与第一通孔和第二通孔的孔口相连。生物质气化炉产生的生物质可燃气经过常规喷淋处理后,再经过本实用新型所述过滤罐处理可使得可燃气体中的木焦油去除率达到95%,灰份杂质去除率达到99%,水蒸汽去除率达到92%,提高了发电效率,延长了机组稳定运行周期从而创造了良好的经济效益。


