授权公布号:CN113713919B
一种环保生物质颗粒粉碎筛选装置
有效
申请
2021-08-17
申请公布
2021-11-30
授权
2023-05-23
预估到期
2041-08-17
| 申请号 | CN202110945318.7 |
| 申请日 | 2021-08-17 |
| 申请公布号 | CN113713919A |
| 申请公布日 | 2021-11-30 |
| 授权公布号 | CN113713919B |
| 授权公告日 | 2023-05-23 |
| 分类号 | B02C18/10;B02C18/22;B02C23/14;B02C23/30 |
| 分类 | 破碎、磨粉或粉碎;谷物碾磨的预处理; |
| 申请人名称 | 承德华净活性炭有限公司 |
| 申请人地址 | 河北省承德市平泉经济开发区58号 |
专利法律状态
2023-05-23
授权
状态信息
授权
2021-11-30
公布
状态信息
公布
摘要
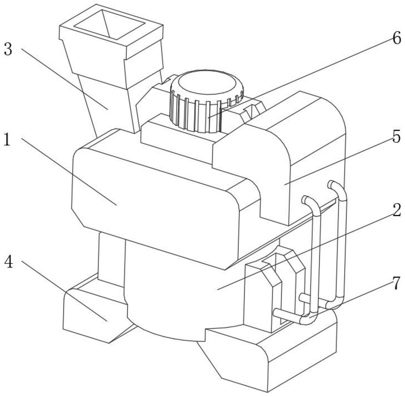
本发明公开了一种环保生物质颗粒粉碎筛选装置,具体包括,箱体,该箱体具有粉碎筛选工作箱,以及设置在所述箱体内侧底部的连接处理罐体,所述箱体顶部设置有进料管;驱动机构,该驱动机构具有驱动电机和连接件,以及设置所述驱动机构外侧的固定座和散热件,所述箱体底部固定连接有支撑底座,所述驱动机构的输出端延伸至箱体内部,所述箱体的输出端安装有内粉碎筛选装置,所述箱体顶部设置有加压冲洗机构,本发明涉及环保技术领域。该环保生物质颗粒粉碎筛选装置,不仅可以粉碎进入的生物质颗粒,可以在粉碎的时候进行气流分离,并且直接可以根据转动速度不同进行筛选,可以根据转动的速度不同用于筛选不同大小的颗粒。


