授权公布号:CN220559936U
一种活性炭深度酸洗设备
有效
申请
2023-08-07
申请公布
1970-01-01
授权
2024-03-08
预估到期
2033-08-07
| 申请号 | CN202322113813.9 |
| 申请日 | 2023-08-07 |
| 授权公布号 | CN220559936U |
| 授权公告日 | 2024-03-08 |
| 分类号 | B08B3/08;B08B13/00;B01F27/2322;B01F27/192;B01F27/90;B01F27/92 |
| 分类 | 清洁; |
| 申请人名称 | 重庆霏洋环保科技股份有限公司 |
| 申请人地址 | 重庆市江津区夏坝青江街 |
专利法律状态
2024-03-08
授权
状态信息
授权
摘要
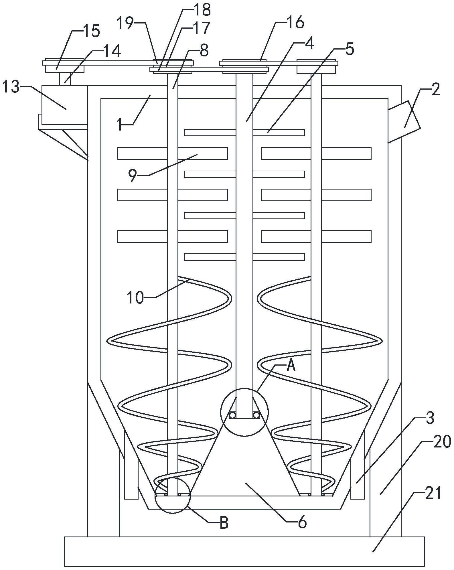
本实用新型涉及活性炭深度酸洗的技术领域,特别是涉及一种活性炭深度酸洗设备,其避免活性炭堆积在装置的底部区域,提高了装置对活性炭搅拌和酸洗的效果和效率,并且避免工人与酸性溶液接触,从而保护的工人的安全,提高了实用性;酸洗仓的外侧壁上连通安装有进料管,酸洗仓的底端连通安装有两个排料管,酸洗仓的内部设置有第一搅拌机构和两个第二搅拌机构;第一搅拌机构包括旋转轴,连接轴顶部区域的外侧壁上对称固定安装有多个第二搅拌杆,连接轴底部区域的外侧壁上固定安装有螺旋搅拌叶,连接轴的底端旋转安装有第二轴承,酸洗仓的顶端固定安装有底板,第二轴承位于底板的顶端;酸洗仓的外侧壁上设置动力机构。


