授权公布号:CN210416662U
一种用于整合电器柜和液压区域钣金的牵引式工装运输车
有效
申请
2019-05-28
申请公布
1970-01-01
授权
2020-04-28
预估到期
2029-05-28
| 申请号 | CN201920785381.7 |
| 申请日 | 2019-05-28 |
| 授权公布号 | CN210416662U |
| 授权公告日 | 2020-04-28 |
| 分类号 | B62B3/04;B62B5/00 |
| 分类 | 无轨陆用车辆; |
| 申请人名称 | 埃马克(中国)机械有限公司 |
| 申请人地址 | 江苏省常州市金坛经济开发区南二环东路2888号 |
专利法律状态
2020-04-28
授权
状态信息
授权
摘要
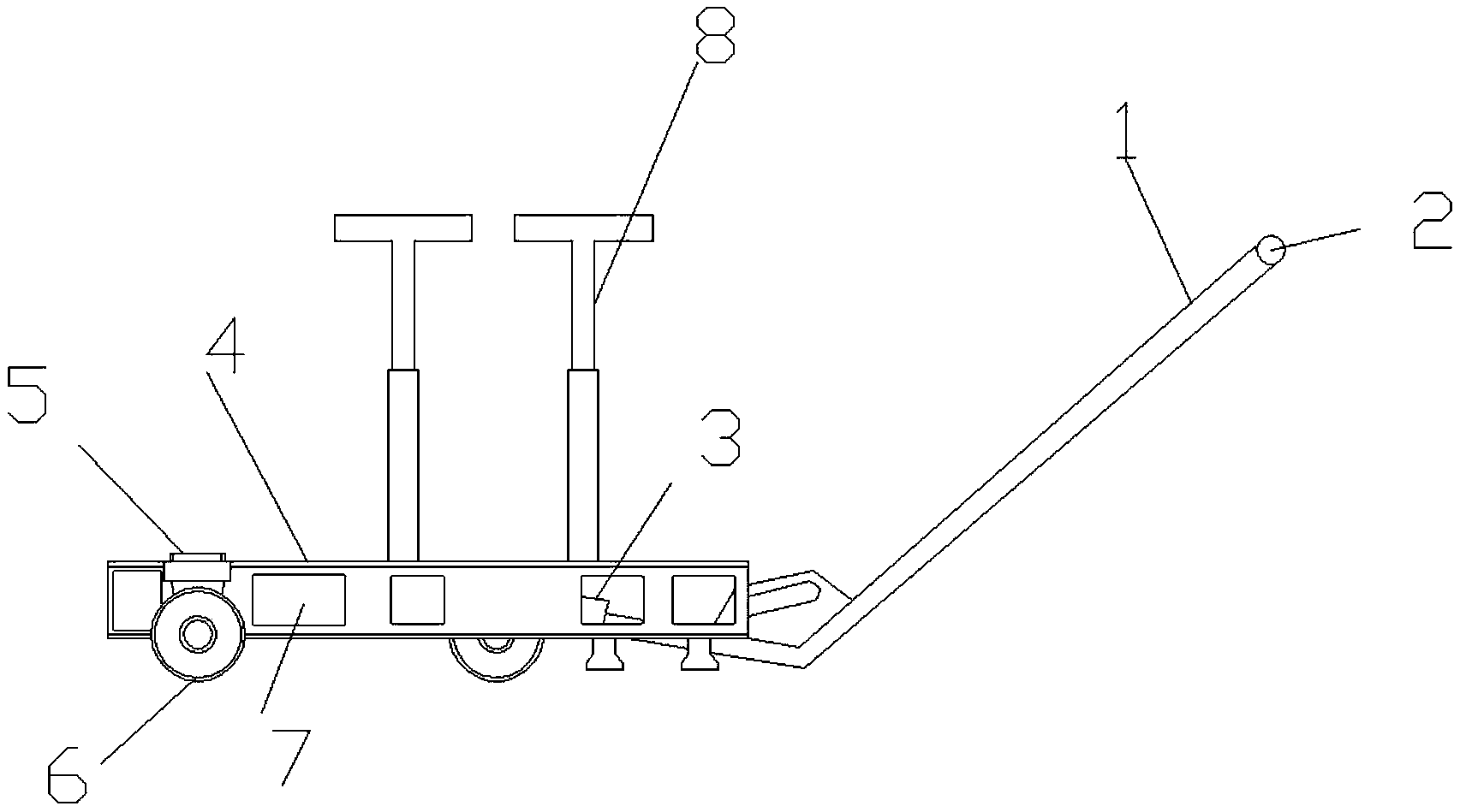
本实用新型公开了一种用于整合电器柜和液压区域钣金的牵引式工装运输车,包括弯曲圆管、圆管把手、牵引装置、长钣金底角、T型安装孔、Blickle GSPO定向轮、减重孔、支撑工装、中间连接板、安装孔、钣金连接支架、牵引装置接头、Blickle GSPO万向轮和短钣金底角。本实用新型的有益效果是:减重孔呈不规则的方型孔状结构,且呈不规则排列设置在长钣金底角和短钣金底角的侧面,支撑工装共设置有两个,且通过卡放连接固定在短钣金底角的底端的卡口上,安装孔均匀的排列在长钣金底角和短钣金底角的上端,牵引装置接头与牵引装置通过卡放连接固定,卡扣组件主要是利用是双向U型缺口的固定方式,Blickle GSPO定向轮和Blickle GSPO万向轮为重型负载尼龙脚轮,通过嵌套式安装。


