授权公布号:CN211606241U
一种电机防水底座
有效
申请
2020-04-30
申请公布
1970-01-01
授权
2020-09-29
预估到期
2030-04-30
| 申请号 | CN202020704513.1 |
| 申请日 | 2020-04-30 |
| 授权公布号 | CN211606241U |
| 授权公告日 | 2020-09-29 |
| 分类号 | H02K5/00;H02K5/10 |
| 分类 | 发电、变电或配电; |
| 申请人名称 | 江门市江晟电机厂有限公司 |
| 申请人地址 | 广东省江门市礼乐镇新华奖围 |
专利法律状态
2020-09-29
授权
状态信息
授权
摘要
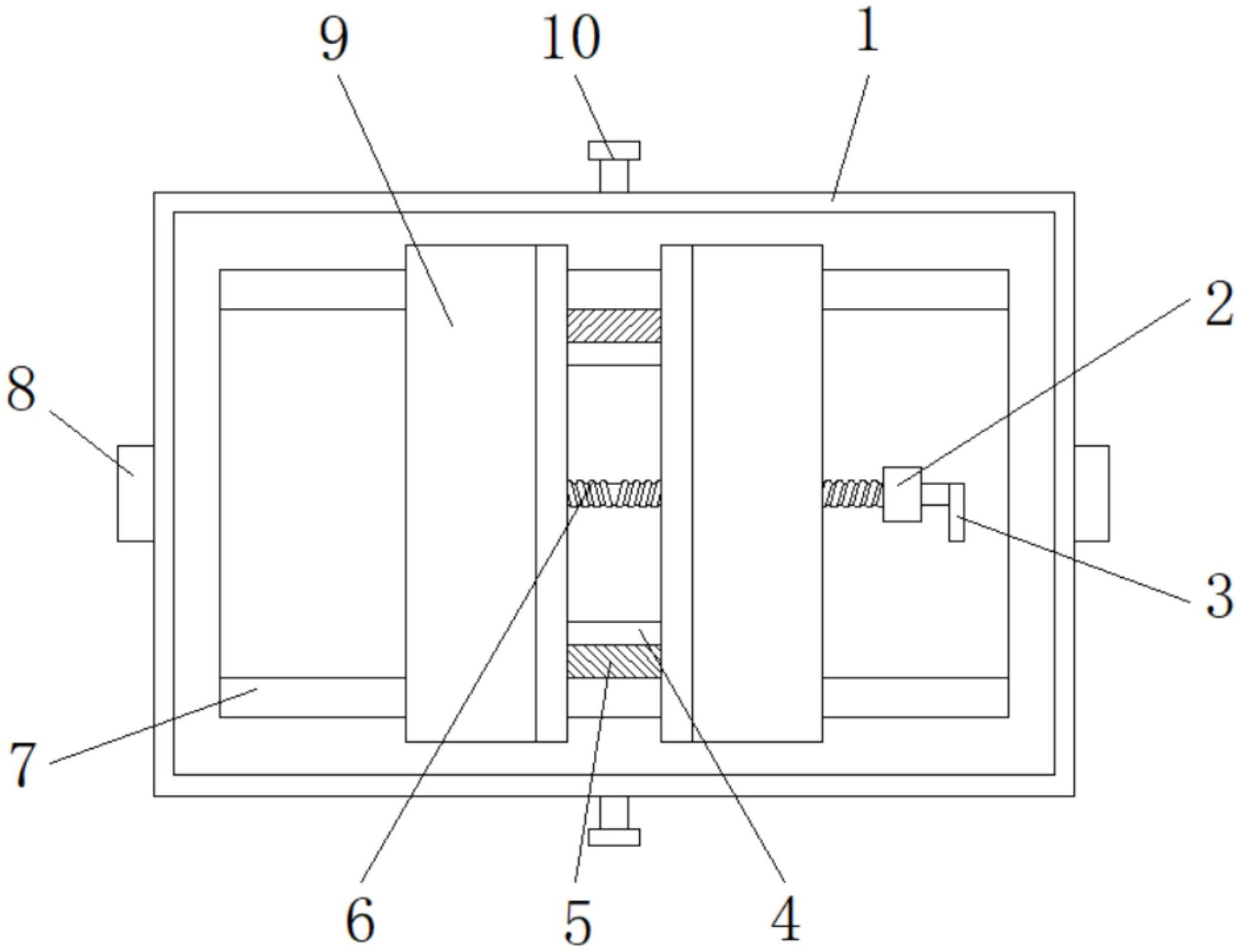
本实用新型公开了一种电机防水底座,包括底座,所述底座的顶部为开口设计,且底座的顶部活动套接有活动套,所述底座内腔的顶部放置有支撑板,所述支撑板的底部固定安装有第一螺纹套,所述底座的内腔活动套接有第一螺杆,所述第一螺杆的右侧与第一螺纹套的内腔螺纹套接。通过设置弹簧和橡胶套,两个夹板相对的一侧也为橡胶设计,利用夹板将电机的底部固定牢固,橡胶设计可避免外界的水进入电机底座的内部,此外由于弹簧的弹性作用,可保证电机在固定牢固后,橡胶套一直与电机的两侧处于紧密贴合状态,从而保证装置的密封性,这样电机的四周均被包围起来,可以起到很好的防水效果。


