授权公布号:CN219141683U
立式车床剪刀式伸缩增强护栏的检测装置
有效
申请
2022-12-30
申请公布
1970-01-01
授权
2023-06-06
预估到期
2032-12-30
| 申请号 | CN202223598007.7 |
| 申请日 | 2022-12-30 |
| 授权公布号 | CN219141683U |
| 授权公告日 | 2023-06-06 |
| 分类号 | G01B5/00 |
| 分类 | 测量;测试; |
| 申请人名称 | 埃马克(中国)机械有限公司 |
| 申请人地址 | 江苏省常州市金坛经济开发区南二环东路2888号 |
专利法律状态
2023-06-06
授权
状态信息
授权
摘要
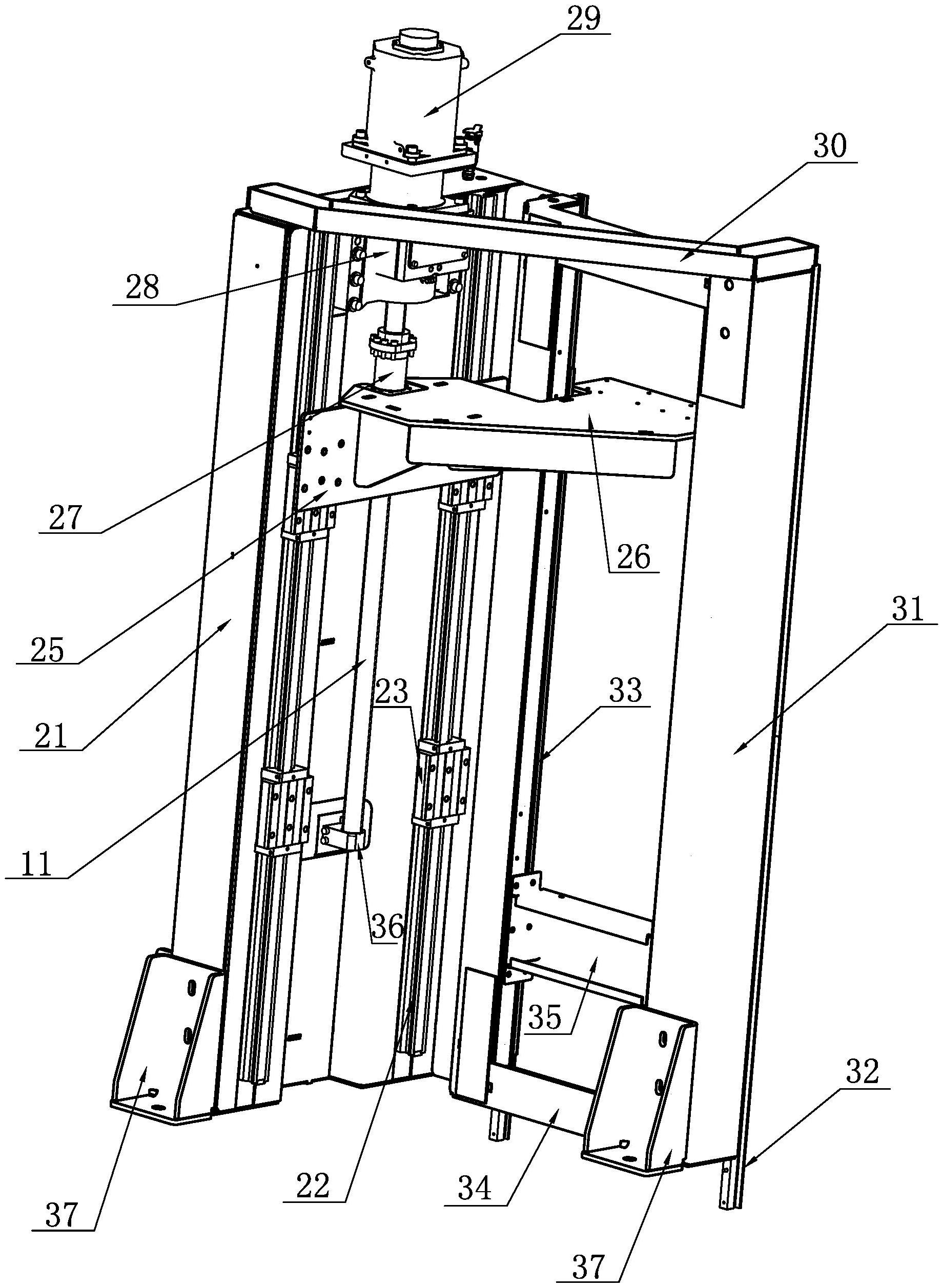
本实用新型涉一种涉及立式车床的部件检测技术,特别涉及立式车床剪刀式伸缩增强护栏的检测装置,它包括垂直主床身、主垂直导轨、滑动座、升降丝杆、滑动座连接板、模拟滑台、螺纹套、减速机、驱动电机、上固定框架、辅助床身、第一辅助垂直导轨、第二辅助垂直导轨、下横梁和下限位块,它模拟了立式车床的工况预先对剪刀式伸缩增强护栏进行质量检测,使剪刀式伸缩增强护栏能直接安装在立式车床上,并且无需反复拆装调试就能达到装配要求,本实用新型的发明目的是提供一种剪刀式伸缩增强护栏检测装置。保证每个剪刀式伸缩增强护栏在安装在立体车床上之前就能判定其是否达预定的装配精度。


