授权公布号:CN218588262U
护具
有效
申请
2022-09-26
申请公布
1970-01-01
授权
2023-03-10
预估到期
2032-09-26
| 申请号 | CN202222567878.6 |
| 申请日 | 2022-09-26 |
| 授权公布号 | CN218588262U |
| 授权公告日 | 2023-03-10 |
| 分类号 | A41D13/06;A41D27/00 |
| 分类 | 服装; |
| 申请人名称 | 江门市鹏程头盔有限公司 |
| 申请人地址 | 广东省江门市鹤山市共和镇东升路01号之七 |
专利法律状态
2023-03-10
授权
状态信息
授权
摘要
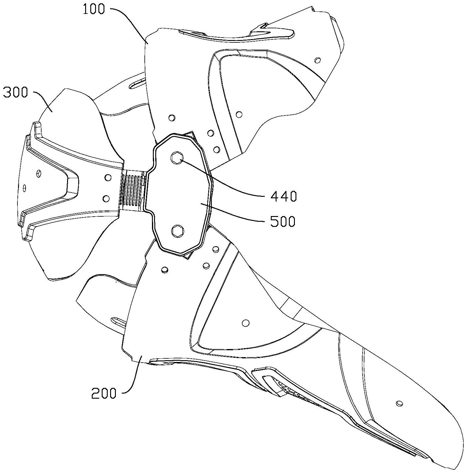
本实用新型公开了护具,包括上固定件、下固定件、护膝件和连接组件;所述上固定件设置有上齿轮;所述下固定件设置有下齿轮;所述护膝件设于所述上固定件和所述下固定件之间;所述连接组件包括连接板、齿轮连接块、滚动件,所述齿轮连接块可移动的安装于所述连接板,所述齿轮连接块与所述护膝件固定连接,所述齿轮连接块的相对两侧分别与所述上齿轮、所述下齿轮啮合,所述上齿轮和所述下齿轮均设有安装槽,所述滚动件设于所述安装槽中,所述连接板通过所述滚动件分别与所述上固定件、所述下固定件转动连接。本实用新型灵活度高,转动顺畅,为用户带来更好的使用体验。


