授权公布号:CN213189099U
除尘型智能窗帘
有效
申请
2020-07-18
申请公布
1970-01-01
授权
2021-05-14
预估到期
2030-07-18
| 申请号 | CN202021422425.9 |
| 申请日 | 2020-07-18 |
| 授权公布号 | CN213189099U |
| 授权公告日 | 2021-05-14 |
| 分类号 | A47H5/02;A47H13/04;A47H2/00;A47L4/00 |
| 分类 | 家具;家庭用的物品或设备;咖啡磨;香料磨;一般吸尘器; |
| 申请人名称 | 广东俊杰实业有限公司 |
| 申请人地址 | 广东省江门市蓬江区荷塘镇西桥路18号综合楼 |
专利法律状态
2021-05-14
授权
状态信息
授权
摘要
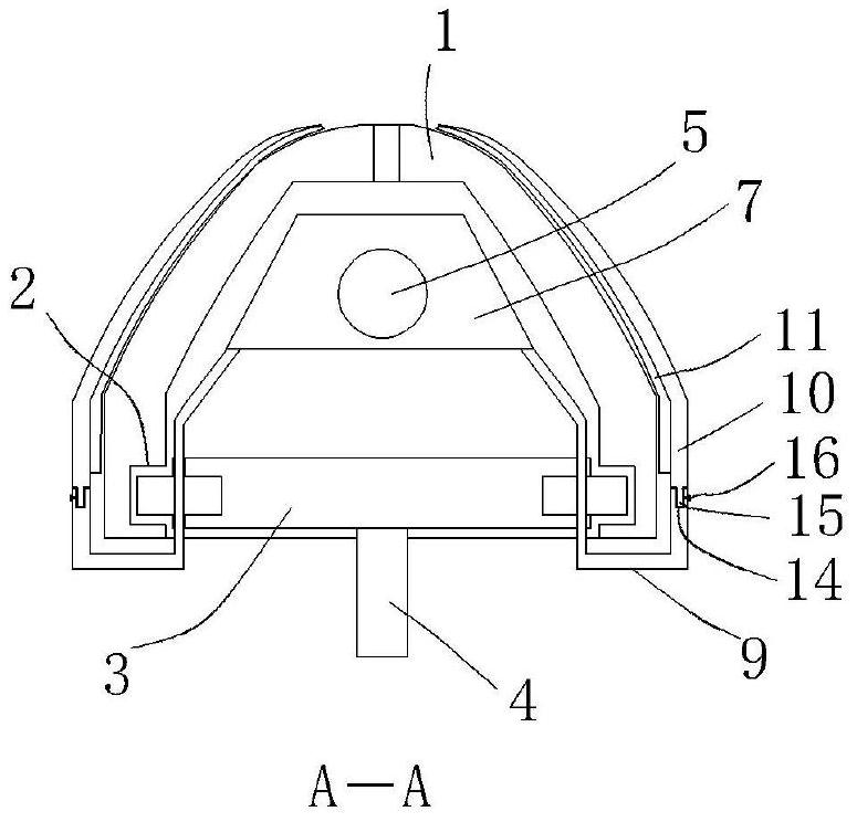
本实用新型公开了一种除尘型智能窗帘,包括窗帘盒,在窗帘盒的对称内壁下部开设有导向滑槽,在窗帘盒内设置有窗帘滑块,在窗帘滑块的底面固定有窗帘挂钩,在窗帘盒内固定有滚珠丝杆,在窗帘盒的端部固定有与滚珠丝杆相连接的驱动电机,在窗帘盒内设置有与滚珠丝杆螺纹连接的平移滑块,在窗帘盒的侧部固定有控制器,在平移滑块的底面固定有U形支杆,在U形支杆的外侧端连接有与窗帘盒外表面形状相同的除尘支杆,在除尘支杆的底面固定有除尘橡胶刮条。本实用新型的结构设置合理,其不但可以有效且快速的实现窗帘滑块的移动实现窗帘的关闭操作,同时可以通过除尘橡胶刮条将窗帘盒顶面的灰尘刮除,提高了除尘性能,适用性强且实用性好。


