授权公布号:CN210372902U
具有防水散热结构的智能灯具
有效
申请
2019-07-17
申请公布
1970-01-01
授权
2020-04-21
预估到期
2029-07-17
| 申请号 | CN201921127993.3 |
| 申请日 | 2019-07-17 |
| 授权公布号 | CN210372902U |
| 授权公告日 | 2020-04-21 |
| 分类号 | F21K9/20;F21V31/00;F21V29/74;F21V29/70;F21Y115/10 |
| 分类 | 照明; |
| 申请人名称 | 广东俊杰实业有限公司 |
| 申请人地址 | 广东省江门市蓬江区荷塘镇北昌东路4号1幢 |
专利法律状态
2020-04-21
授权
状态信息
授权
摘要
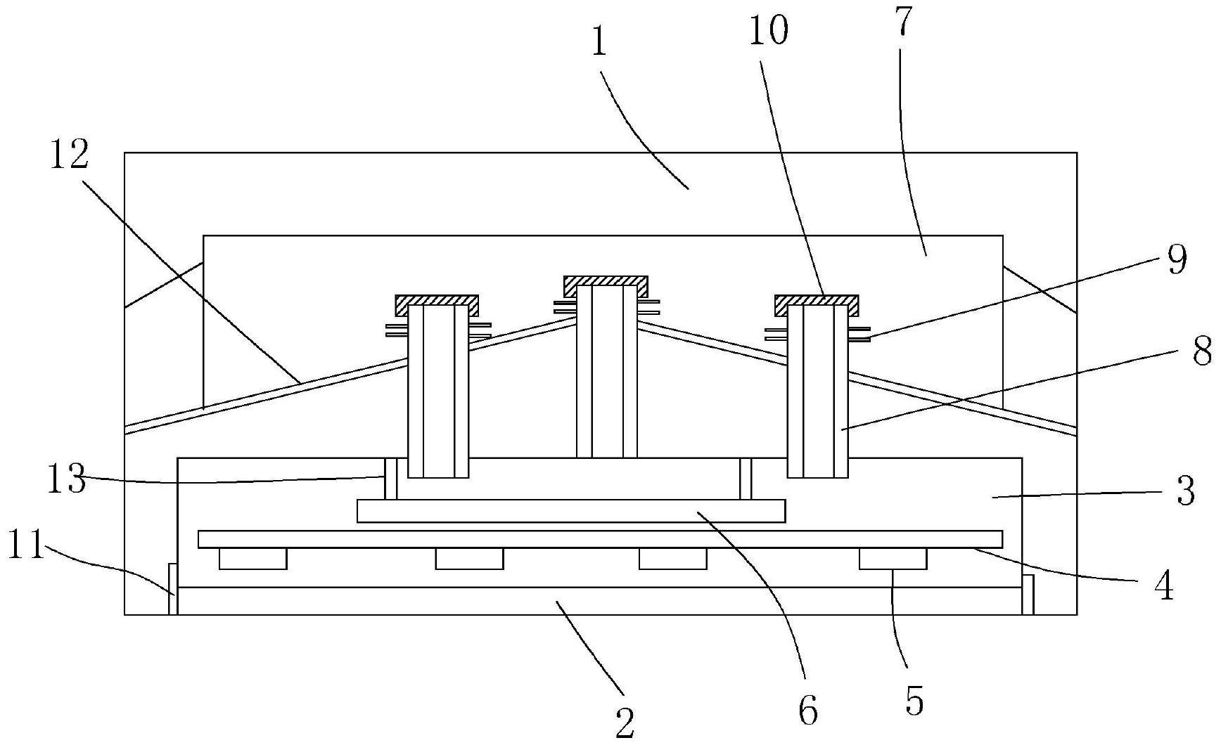
本实用新型公开了一种具有防水散热结构的智能灯具,包括灯座和设置在灯座上的灯罩,在灯座内设置有灯腔,在灯腔内固定有铝基板且在铝基板上固定有灯珠,在灯座内还固定有整流器,在灯座内设置有侧面开口的散热空腔,在灯座内均匀设置有伸入灯腔内的散热筒杆,散热筒杆的顶部高出散热空腔的底壁,在散热柱杆的外壁上固定有散热鳍片且在散热筒杆的顶部包裹有透气防水膜层,在灯罩与灯座之间设置有隔热保温层。本实用新型的结构设置合理,具有较好的散热性能,由于散热筒杆的顶端高于散热空腔的底壁,可以有效的防止水从散热筒杆进入灯座内,提高了整体的防水性能,而且还设置有透气防水膜层,可有效的防止灰尘进入,适用性强且实用性好。


