授权公布号:CN213234580U
用于智能锁的锁芯除异物结构
有效
申请
2020-07-20
申请公布
1970-01-01
授权
2021-05-18
预估到期
2030-07-20
| 申请号 | CN202021432858.2 |
| 申请日 | 2020-07-20 |
| 授权公布号 | CN213234580U |
| 授权公告日 | 2021-05-18 |
| 分类号 | E05B17/00 |
| 分类 | 锁;钥匙;门窗零件;保险箱; |
| 申请人名称 | 广东俊杰实业有限公司 |
| 申请人地址 | 广东省江门市蓬江区荷塘镇西桥路18号综合楼 |
专利法律状态
2021-05-18
授权
状态信息
授权
摘要
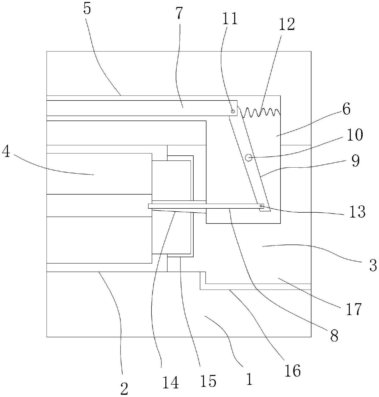
本实用新型公开了一种用于智能锁的锁芯除异物结构,包括锁壳,设置在锁壳上开设有锁芯孔,在锁芯孔内设有锁芯座,在锁芯座上设置有锁芯,在锁壳内开设有防护通孔,在防护通孔的内侧端与锁芯座的侧壁开设有相连通的条形凹槽,在防护通孔内设置有防护抵杆,在锁芯座上设置有抵压杆,在条形凹槽内设置有翘杆,翘杆的中部通过轴杆连接在条形凹槽内,防护抵杆与翘杆的外侧端部通过销轴相连接,在翘杆与防护通孔的内侧端之间固定有复位弹簧,翘杆的内侧端通过连接轴与抵压杆相连接,在锁芯的端部中心开设有圆形通孔。本实用新型的结构设置合理,实现锁芯内堵塞物的清理,有利于降低检修及维护成本,可以保证整体的使用稳定性和安全,适用性强且实用性好。


