授权公布号:CN212430764U
调节光源型智能灯具
有效
申请
2020-07-15
申请公布
1970-01-01
授权
2021-01-29
预估到期
2030-07-15
| 申请号 | CN202021399439.3 |
| 申请日 | 2020-07-15 |
| 授权公布号 | CN212430764U |
| 授权公告日 | 2021-01-29 |
| 分类号 | F21V14/02; |
| 分类 | 照明; |
| 申请人名称 | 广东俊杰实业有限公司 |
| 申请人地址 | 广东省江门市蓬江区荷塘镇西桥路18号综合楼 |
专利法律状态
2021-01-29
授权
状态信息
授权
摘要
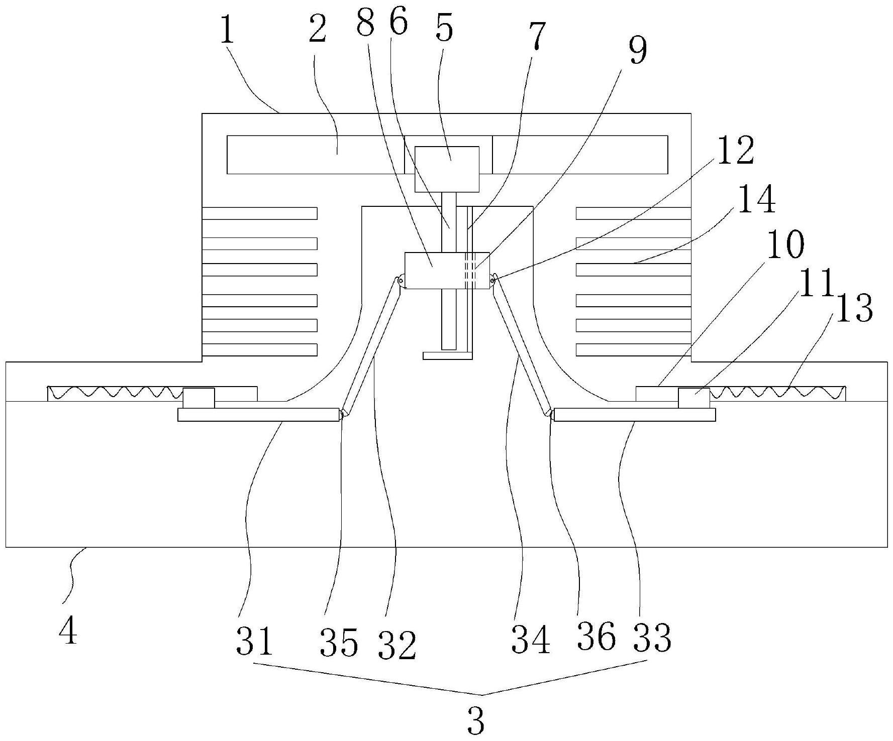
本实用新型公开了一种调节光源型智能灯具,包括外壳,固定在外壳内的控制盒和LED灯板,在外壳的底部设置有透光灯罩,LED灯板包括第一灯板、第二灯板、第三灯板和第四灯板,第一灯板通过销轴与第二灯板相连接,第三灯板通过连接轴与第四灯板相连接,在外壳的顶部中心固定有驱动电机和与驱动电机相连接的传动丝杆,在外壳内固定有与传动丝杆相平行的导向筋杆,还设置有与传动丝杆螺纹连接的传动滑块,在外壳的底面开设有燕尾形平移槽,在第一灯板和第三灯板的顶部固定有燕尾形滑块。本实用新型的结构设置合理,可以根据需要启动驱动电机,使第一灯板和第二灯板、第三灯板和第四灯板实现折叠或展开,实现光源的调节,适用性强且实用性好。


