授权公布号:CN212456717U
调节光源型智能灯具
有效
申请
2020-07-14
申请公布
1970-01-01
授权
2021-02-02
预估到期
2030-07-14
| 申请号 | CN202021383283.X |
| 申请日 | 2020-07-14 |
| 授权公布号 | CN212456717U |
| 授权公告日 | 2021-02-02 |
| 分类号 | F21V14/02;F21V21/36 |
| 分类 | 照明; |
| 申请人名称 | 广东俊杰实业有限公司 |
| 申请人地址 | 广东省江门市蓬江区荷塘镇西桥路18号综合楼 |
专利法律状态
2021-02-02
授权
状态信息
授权
摘要
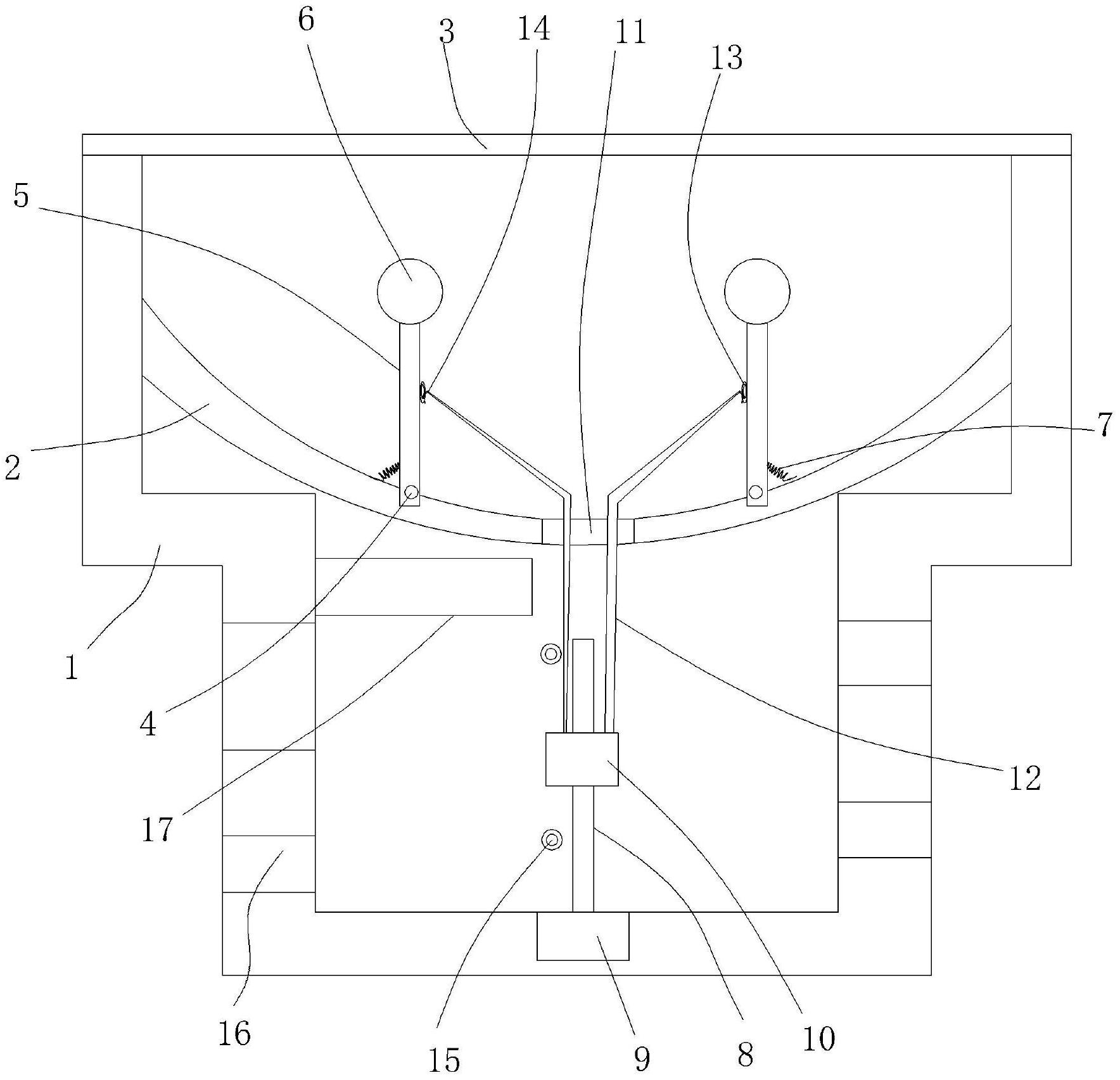
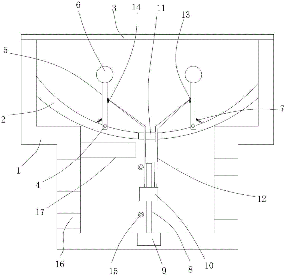
本实用新型公开了一种调节光源型智能灯具,包括灯座,设置在灯座内的反光杯和固定在灯座上的透光板,在灯座内还固定有驱动电路,在透光板上通过销轴连接有两个支撑杆,在支撑杆的顶端固定有光源,在支撑杆的外壁中部与反光杯的内壁之间设置有抵压弹簧,在灯座上固定有竖向传动丝杆,在灯座内固定有与竖向传动丝杆相连接的小马达,在竖向传动丝杆上螺纹连接有升降滑块,在反光杯的中心开设有竖向通孔,在竖向通孔内设置有两个拉筋,拉筋的底端固定在升降滑块上,在两个支撑杆的中部固定有挂环。本实用新型的结构设置合理,实现调节照射强度的目的,使用稳定可靠,有利于满足用户不同情况的需求,适用性强且实用性好。


