授权公布号:CN204923855U
一种防乳浊人造宝石熔烧装置
有效
申请
2015-09-22
申请公布
1970-01-01
授权
2015-12-30
预估到期
2025-09-22
| 申请号 | CN201520734652.8 |
| 申请日 | 2015-09-22 |
| 授权公布号 | CN204923855U |
| 授权公告日 | 2015-12-30 |
| 分类号 | F27B14/08 |
| 分类 | 炉;窑;烘烤炉;蒸馏炉〔4〕; |
| 申请人名称 | 亚华水钻技术(浙江)有限公司 |
| 申请人地址 | 浙江省金华市浦江县亚太大道609号 |
专利法律状态
2017-01-18
专利申请权、专利权的转移
状态信息
专利权的转移;IPC(主分类):F27B14/08;登记生效日:20161226;变更事项:专利权人;变更前:亚华水钻技术(浙江)有限公司;变更后:浙江亚华天玑宝石有限公司;变更事项:地址;变更前:322200 浙江省金华市浦江县亚太大道609号;变更后:322200 浙江省金华市浦江县亚太大道609号
2017-01-11
专利申请权、专利权的转移
状态信息
专利权的转移;IPC(主分类):F27B14/08;登记生效日:20161220;变更事项:专利权人;变更前:亚华水钻技术(浙江)有限公司;变更后:浙江亚华天玑宝石有限公司;变更事项:地址;变更前:322200 浙江省金华市浦江县亚太大道609号;变更后:322200 浙江省金华市浦江县亚太大道609号
2017-01-04
专利申请权、专利权的转移
状态信息
专利权的转移;IPC(主分类):F27B14/08;登记生效日:20161213;变更事项:专利权人;变更前:亚华水钻技术(浙江)有限公司;变更后:浙江亚华天玑宝石有限公司;变更事项:地址;变更前:322200 浙江省金华市浦江县亚太大道609号;变更后:322200 浙江省金华市浦江县亚太大道609号
2015-12-30
授权
状态信息
授权
摘要
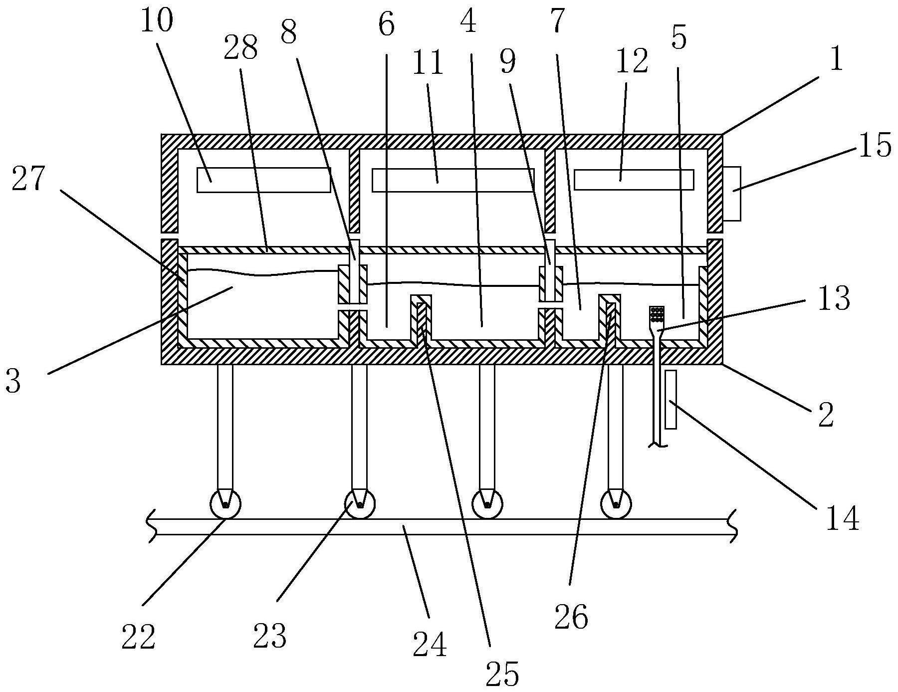
本实用新型属于IPC分类C04人造石制造领域,具体涉及一种防乳浊人造宝石熔烧装置,包括上部装置和下部装置,所述下部装置包括预熔区、精炼区和出料区,所述预熔区和精炼区之间设有第一连接区,精炼区和出料区之间设有第二连接区;预熔区与第一连接区之间用隔断板A隔开,隔断板A上设有连通预熔区与第一连接区的通孔,精炼区和第二连接区之间用隔断板B隔开,隔断板B上设有连通精炼区和第二连接区的通孔;所述的上部装置依照下部装置中的隔断板A和隔断板B处进行隔断;出料区连接有成型料管。本实用新型能降低低粘度人造宝石原料在合成过程中乳浊现象的可能性,能提高人造宝石的成品率,同时能延长熔烧装置的使用寿命,降低人造宝石的制造成本。


