授权公布号:CN212583136U
一种新型地脚线拼接结构
有效
申请
2020-04-24
申请公布
1970-01-01
授权
2021-02-23
预估到期
2030-04-24
| 申请号 | CN202020639662.4 |
| 申请日 | 2020-04-24 |
| 授权公布号 | CN212583136U |
| 授权公告日 | 2021-02-23 |
| 分类号 | E04F19/04 |
| 分类 | 建筑物; |
| 申请人名称 | 佛山市南海区科晟新型材料有限公司 |
| 申请人地址 | 广东省佛山市南海区丹灶镇南海国家生态工业园区金玉路3号邓伟钊厂房首层之四 |
专利法律状态
2021-02-23
授权
状态信息
授权
摘要
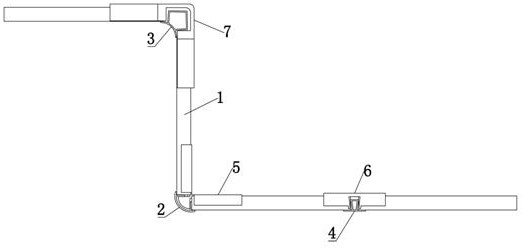
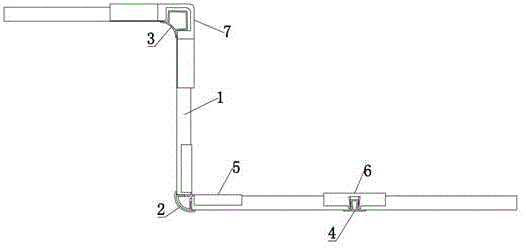
本实用新型公开了一种新型地脚线拼接结构,包括均竖向设置的多块地脚线拼接件、多个第一转角连接件、多个第二转角连接件、多个平面连接件、多个第一背部连接件、多个第二背部连接件与多个第三背部连接件;本实用新型在对地脚线拼接件进行安装时,平面处时通过平面连接件左右两侧贴合两地脚线拼接件,配合第二背部连接件,实现平面上两地脚线拼接件之间的连接固定,而通过第一转角连接件配合第一背部连接件以及第二转角连接件配合第三背部连接件,实现两地脚线拼接件于凸出转角处或凹陷转角处相卡扣连接,如此实现快速组装拼接,组装速度快,效率高,同理拆卸也快速便捷。


